
实用专利
一种高浓度烟气脱硫除尘设备
日期:2020-09-14 15:09浏览次数:
说 明 书 摘 要
本实用新型提供一种高浓度烟气脱硫除尘设备,包括脱硫箱和U形收集管,所述脱硫箱的上侧设置有喷淋组件,所述U形收集管的两端均通过固定组件固定安装有连接管头,两个连接管道分别连通有输气管和进气管,所述进气管连通于所述脱硫箱一侧的底部,涉及烟气脱硫领域。本实用新型通过设置喷淋组件,在喷淋时通过电机、齿轮、旋转连接头等配合使喷淋管带动喷头转动进行喷淋,从而增大喷淋面积,使上升的气流可以更加充分的与脱硫剂进行接触,提高反应的效率与质量,且通过设置U形收集盒配合滤网可以对滤下的固体壳体进行收集,并且通过固定组件进行固定安装,对U形收集管和滤网的拆卸与安装均操作简单方便,便于U形收集管和滤网进行清理。

1.一种高浓度烟气脱硫除尘设备,其特征在于:包括脱硫箱(1)和U形收集管(4),所述脱硫箱(1)的上侧设置有喷淋组件(2),所述U形收集管(4)的两端均通过固定组件(5)固定安装有连接管头(6),两个连接管道分别连通有输气管(7)和进气管(3),所述进气管(3)连通于所述脱硫箱(1)一侧的底部,所述连接管头(6)的内部且位于U形收集管(4)上侧设置有滤网(11),所述连接管头(6)的的端部开设有限位槽(10),所述滤网(11)的边侧位于限位槽(10)的内部。
2.根据权利要求1所述的高浓度烟气脱硫除尘设备,其特征在于:所述喷淋组件(2)包括安装架(21),所述安装架固定于所述脱硫箱(1)的顶部,所述安装架(21)的一侧转动连接有连接管(22),所述连接管(22)的底端贯穿脱硫箱(1)且延伸至脱硫箱(1)的内部,所述连接管(22)的底端连通有喷淋管(23),所述喷淋管(23)的底端连通有喷头(24),所述连接管(22)的顶端通过旋转连接头(25)连通有进液管(26)。
3.根据权利要求2所述的高浓度烟气脱硫除尘设备,其特征在于:所述安装架(21)顶部固定安装有电机(29),所述电机(29)输出轴的一端通过联轴器固定连接有转动轴,所述转动轴的表面套设有主动齿轮(27),所述连接管(22)的表面套设有从动齿轮(28),所述主动齿轮(27)与从动齿轮(28)啮合。
4.根据权利要求1所述的高浓度烟气脱硫除尘设备,其特征在于:所述固定组件(5)包括固定块(51)和两个滑杆(52),所述固定块(51)固定于所述U形收集管(4)表面的上侧,两个所述滑杆(52)固定于所述U形收集管(4)的表面且位于该固定块(51)的两侧,所述固定块(51)上开设有限位孔(53),所述限位孔(53)的一侧开设有凹槽(54)。
5.根据权利要求4所述的高浓度烟气脱硫除尘设备,其特征在于:所述凹槽(54)的内部设置有活塞块(55),所述活塞块(55)的一侧固定连接有卡块(59),所述活塞块(55)的另一侧固定连接有弹性件(56),所述活塞块(55)的两侧均固定连接有带动杆(58),所述带动杆(58)的一端通过滑槽(57)延伸至固定块(51)的外部,所述带动杆(58)的一端通过套环与所述滑杆(52)的滑动连接,所述滑杆(52)的表面滑动连接有套管(510),所述套管(510)的端部固定连接有按压块(511)。
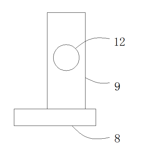
6.根据权利要求1所述的高浓度烟气脱硫除尘设备,其特征在于:所述U形收集管(4)的两侧均固定连接有支撑块(8),所述支撑块(8)的顶部固定连接有限位轴(9),所述限位轴(9)上开设有固定孔(12)。
2.根据权利要求1所述的高浓度烟气脱硫除尘设备,其特征在于:所述喷淋组件(2)包括安装架(21),所述安装架固定于所述脱硫箱(1)的顶部,所述安装架(21)的一侧转动连接有连接管(22),所述连接管(22)的底端贯穿脱硫箱(1)且延伸至脱硫箱(1)的内部,所述连接管(22)的底端连通有喷淋管(23),所述喷淋管(23)的底端连通有喷头(24),所述连接管(22)的顶端通过旋转连接头(25)连通有进液管(26)。
3.根据权利要求2所述的高浓度烟气脱硫除尘设备,其特征在于:所述安装架(21)顶部固定安装有电机(29),所述电机(29)输出轴的一端通过联轴器固定连接有转动轴,所述转动轴的表面套设有主动齿轮(27),所述连接管(22)的表面套设有从动齿轮(28),所述主动齿轮(27)与从动齿轮(28)啮合。
4.根据权利要求1所述的高浓度烟气脱硫除尘设备,其特征在于:所述固定组件(5)包括固定块(51)和两个滑杆(52),所述固定块(51)固定于所述U形收集管(4)表面的上侧,两个所述滑杆(52)固定于所述U形收集管(4)的表面且位于该固定块(51)的两侧,所述固定块(51)上开设有限位孔(53),所述限位孔(53)的一侧开设有凹槽(54)。
5.根据权利要求4所述的高浓度烟气脱硫除尘设备,其特征在于:所述凹槽(54)的内部设置有活塞块(55),所述活塞块(55)的一侧固定连接有卡块(59),所述活塞块(55)的另一侧固定连接有弹性件(56),所述活塞块(55)的两侧均固定连接有带动杆(58),所述带动杆(58)的一端通过滑槽(57)延伸至固定块(51)的外部,所述带动杆(58)的一端通过套环与所述滑杆(52)的滑动连接,所述滑杆(52)的表面滑动连接有套管(510),所述套管(510)的端部固定连接有按压块(511)。
6.根据权利要求1所述的高浓度烟气脱硫除尘设备,其特征在于:所述U形收集管(4)的两侧均固定连接有支撑块(8),所述支撑块(8)的顶部固定连接有限位轴(9),所述限位轴(9)上开设有固定孔(12)。
一种高浓度烟气脱硫除尘设备
技术领域
本实用新型涉及烟气脱硫领域,尤其涉及一种高浓度烟气脱硫除尘设备。
背景技术
烟气脱硫指从烟道气或其他工业废气中除去硫氧化物(SO2 和SO3),烟气脱硫包括湿法烟气脱硫,使烟气与脱硫液体进行接触反应。
由于烟气中含有大量的固体颗粒,在进行脱硫时,需要对烟气中的固定颗粒进行滤除,目前通过过滤网过滤后,过滤网表面粘附大量的固体颗粒,需要定期清理,目前滤网的安装拆卸麻烦,清理不方便,且不能对过滤下来的固定颗粒进行集中收集。
实用新型内容
本实用新型的目的在于提供一种高浓度烟气脱硫除尘设备,以解决上述技术问题。
本实用新型为解决上述技术问题,采用以下技术方案来实现:一种高浓度烟气脱硫除尘设备,包括脱硫箱和U形收集管,所述脱硫箱的上侧设置有喷淋组件,所述U形收集管的两端均通过固定组件固定安装有连接管头,两个连接管道分别连通有输气管和进气管,所述进气管连通于所述脱硫箱一侧的底部,所述连接管头的内部且位于U形收集管上侧设置有滤网,所述连接管头的的端部开设有限位槽,所述滤网的边侧位于限位槽的内部。
进一步地,所述喷淋组件包括安装架,所述安装架固定于所述脱硫箱的顶部,所述安装架的一侧转动连接有连接管,所述连接管的底端贯穿脱硫箱且延伸至脱硫箱的内部,所述连接管的底端连通有喷淋管,所述喷淋管的底端连通有喷头,所述连接管的顶端通过旋转连接头连通有进液管。
通过旋转连接头连接进液管,当连接管转动的时候,进液管可以不跟随转动。
进一步地,所述安装架顶部固定安装有电机,所述电机输出轴的一端通过联轴器固定连接有转动轴,所述转动轴的表面套设有主动齿轮,所述连接管的表面套设有从动齿轮,所述主动齿轮与从动齿轮啮合。
进一步地,所述固定组件包括固定块和两个滑杆,所述固定块固定于所述U形收集管表面的上侧,两个所述滑杆固定于所述U形收集管的表面且位于该固定块的两侧,所述固定块上开设有限位孔,所述限位孔的一侧开设有凹槽。
进一步地,所述凹槽的内部设置有活塞块,所述活塞块的一侧固定连接有卡块,所述活塞块的另一侧固定连接有弹性件,所述活塞块的两侧均固定连接有带动杆,所述带动杆的一端通过滑槽延伸至固定块的外部,所述带动杆的一端通过套环与所述滑杆的滑动连接,所述滑杆的表面滑动连接有套管,所述套管的端部固定连接有按压块。
进一步地,所述U形收集管的两侧均固定连接有支撑块,所述支撑块的顶部固定连接有限位轴,所述限位轴上开设有固定孔。
本实用新型的有益效果是:
本实用新型通过设置喷淋组件,在喷淋时通过电机、齿轮、旋转连接头等配合使喷淋管带动喷头转动进行喷淋,从而增大喷淋面积,使上升的气流可以更加充分的与脱硫剂进行接触,提高反应的效率与质量,且通过设置U形收集盒配合滤网可以对滤下的固体壳体进行收集,并且通过固定组件进行固定安装,对U形收集管和滤网的拆卸与安装均操作简单方便,便于U形收集管和滤网进行清理。
附图说明
图1为本实用新型内部的结构示意图;
图2为本实用新型U形收集管的剖视图;
图3为本实用新型固定组件的剖视图;
图4为本实用新型的限位轴的侧视图;
图5为本实用新型整体的外部结构示意图。
附图标记:1-脱硫箱、2-喷淋组件、21-安装架、22-连接管、23-喷淋管、24-喷头、25-旋转连接头、26-进液管、27-主动齿轮、28-从动齿轮、29-电机、3-进气管、4-U形收集管、5-固定组件、51-固定块、52-滑杆、53-限位孔、54-凹槽、55-活塞块、56-弹性件、57-滑槽、58-带动杆、59-卡块、510- 套管、511-按压块、6-连接管头、7-输气管、8-支撑块、9-限位轴、10-限位槽、11-滤网、12-固定孔。
具体实施方式
为了使本实用新型实现的技术手段、创作特征、达成目的与功效易于明白了解,下面结合具体实施例和附图,进一步阐述本实用新型,但下述实施例仅仅为本实用新型的优选实施例,并非全部。基于实施方式中的实施例,本领域技术人员在没有做出创造性劳动的前提下所获得其它实施例,都属于本发明的保护范围。
下面结合附图描述本实用新型的具体实施例。
如图1-5所示,一种高浓度烟气脱硫除尘设备,包括脱硫箱1和U形收集管4,所述脱硫箱1的上侧设置有喷淋组件2,所述U形收集管4的两端均通过固定组件5固定安装有连接管头6,两个连接管道分别连通有输气管7和进气管3,所述进气管3连通于所述脱硫箱1一侧的底部,所述连接管头6的内部且位于U形收集管4上侧设置有滤网11,所述连接管头6的的端部开设有限位槽10,所述滤网11的边侧位于限位槽10的内部。
滤网11包括外部边框,以及固定在边框内部的滤芯,边框位于限位槽10内部,且限位槽10为环形开设,且滤网11设置在靠近脱硫箱1一侧的连接管头6内部,另一侧的连接管头6未设置滤网11,脱硫箱1顶部的一侧连通有出气管头,脱硫箱1底部连通有出液管,输液管上设置有阀门。
所述喷淋组件2包括安装架21,所述安装架固定于所述脱硫箱1的顶部,所述安装架21的一侧转动连接有连接管22,所述连接管22的底端贯穿脱硫箱1且延伸至脱硫箱1的内部,所述连接管22的底端连通有喷淋管23,所述喷淋管23的底端连通有喷头24,所述连接管22的顶端通过旋转连接头25连通有进液管26。
连接管22贯穿安装架21,且在贯穿处的表面套设有轴承,同时连接管的表面且位于安装架21的顶部和底部均套设有限位环,连接管22与脱硫箱1贯穿处设置机械密封。
所述安装架21顶部固定安装有电机29,所述电机29输出轴的一端通过联轴器固定连接有转动轴,所述转动轴的表面套设有主动齿轮27,所述连接管22的表面套设有从动齿轮28,所述主动齿轮27与从动齿轮28啮合。
电机29通过电源线与外部电源连接供电。
所述固定组件5包括固定块51和两个滑杆52,所述固定块51固定于所述U形收集管4表面的上侧,两个所述滑杆72固定于所述U形收集管4的表面且位于该固定块51的两侧,所述固定块51上开设有限位孔53,所述限位孔53的一侧开设有凹槽54。
所述凹槽54的内部设置有活塞块55,所述活塞块55的一侧固定连接有卡块59,所述活塞块55的另一侧固定连接有弹性件56,所述活塞块55的两侧均固定连接有带动杆58,所述带动杆58的一端通过滑槽57延伸至固定块51的外部,所述带动杆58的一端通过套环与所述滑杆72的滑动连接,所述滑杆52的表面滑动连接有套管510,所述套管510的端部固定连接有按压块511。
当弹性件56正常伸展时卡块59位于限位孔53的内部,且卡块59的底部设置弧形面,U形收集管4的顶端粘接有密封胶垫
凹槽54的两侧通过滑槽57与外部连通。
所述U形收集管4的两侧均固定连接有支撑块8,所述支撑块8的顶部固定连接有限位轴9,所述限位轴9上开设有固定孔12。
限位轴9的直径与限位孔53的直径相同,U形收集管4两侧的管的两侧的上侧均固定连接有支撑块8。
工作原理:当烟气经过输气管7通过位于左侧的连接管头6进入到U形收集管4内部,通过U形收集管4右侧上方的连接管头6内部的滤网11将固体颗粒进行过滤,烟气进过进气管3进入到脱硫箱1内部;
此时脱硫液通过喷淋管23上的喷头喷出,且通过电机29带动主动齿轮27转动,主动齿轮27带动从动齿轮28转动,从而带动连接管22转动,连接管22带动喷淋管23转动,从而增大喷淋面积,使上升的气流可以更加充分的与脱硫剂进行接触,提高反应的效率与质量;
当脱硫结束后,可以通过脱硫箱1顶部的出气管输送至下一个步骤进行处理,处理后的溶液通过脱硫箱1底部的出液管排出;
且滤网11过滤下来的颗粒通过重力的作用直接掉落到U形收集管4内部进行收集,当需要对滤网11以及固定颗粒进行清理时,通过同时按压两个连接管头5两侧的按压块511,然后向下拉动,即可将U形收集管4取下;
其中按压按压块511时,按压块511推动套管510推动套环,套环通过带动杆58带动活塞块55压缩弹性件,并带动卡块59移入凹槽54内部移出限位轴9上的固定孔12;
同时此时可以直接将滤网11取出进行清理或者更换,然后可以将U形收集管4内部收集的固体颗粒倒出;
安装时,将U形收集管4两个管头两侧的限位轴9对应插入到固定块51上的限位孔53内部,且插入时,限位孔53的边侧挤压卡块59的弧形面,使其推动活塞块55压缩弹性件56,进入到凹槽54内部,当限位轴9移动至其上的固定孔12与限位轴9位置对应时,通过弹性件56的作用推动卡块59进入到固定孔12内部对其进行限位,且此时U形收集管4顶端的密封胶垫处于压缩状态,安装简单。
在本实用新型中,除非另有明确的规定和限定,第一特征在第二特征之 “上”或之“下”可以包括第一和第二特征直接接触,也可以包括第一和第二特征不是直接接触而是通过它们之间的另外的特征接触。而且,第一特征在第二特征“之上”、“上方”和“上面”包括第一特征在第二特征正上方和斜上方,或仅仅表示第一特征水平高度高于第二特征。第一特征在第二特征“之下”、“下方”和“下面”包括第一特征在第二特征正下方和斜下方,或仅仅表示第一特征水平高度小于第二特征。
以上显示和描述了本实用新型的基本原理、主要特征和本实用新型的优点。本行业的技术人员应该了解,本实用新型不受上述实施例的限制,上述实施例和说明书中描述的仅为本实用新型的优选例,并不用来限制本实用新型,在不脱离本实用新型精神和范围的前提下,本实用新型还会有各种变化和改进,这些变化和改进都落入要求保护的本实用新型范围内。本实用新型要求保护范围由所附的权利要求书及其等效物界定。
技术领域
本实用新型涉及烟气脱硫领域,尤其涉及一种高浓度烟气脱硫除尘设备。
背景技术
烟气脱硫指从烟道气或其他工业废气中除去硫氧化物(SO2 和SO3),烟气脱硫包括湿法烟气脱硫,使烟气与脱硫液体进行接触反应。
由于烟气中含有大量的固体颗粒,在进行脱硫时,需要对烟气中的固定颗粒进行滤除,目前通过过滤网过滤后,过滤网表面粘附大量的固体颗粒,需要定期清理,目前滤网的安装拆卸麻烦,清理不方便,且不能对过滤下来的固定颗粒进行集中收集。
实用新型内容
本实用新型的目的在于提供一种高浓度烟气脱硫除尘设备,以解决上述技术问题。
本实用新型为解决上述技术问题,采用以下技术方案来实现:一种高浓度烟气脱硫除尘设备,包括脱硫箱和U形收集管,所述脱硫箱的上侧设置有喷淋组件,所述U形收集管的两端均通过固定组件固定安装有连接管头,两个连接管道分别连通有输气管和进气管,所述进气管连通于所述脱硫箱一侧的底部,所述连接管头的内部且位于U形收集管上侧设置有滤网,所述连接管头的的端部开设有限位槽,所述滤网的边侧位于限位槽的内部。
进一步地,所述喷淋组件包括安装架,所述安装架固定于所述脱硫箱的顶部,所述安装架的一侧转动连接有连接管,所述连接管的底端贯穿脱硫箱且延伸至脱硫箱的内部,所述连接管的底端连通有喷淋管,所述喷淋管的底端连通有喷头,所述连接管的顶端通过旋转连接头连通有进液管。
通过旋转连接头连接进液管,当连接管转动的时候,进液管可以不跟随转动。
进一步地,所述安装架顶部固定安装有电机,所述电机输出轴的一端通过联轴器固定连接有转动轴,所述转动轴的表面套设有主动齿轮,所述连接管的表面套设有从动齿轮,所述主动齿轮与从动齿轮啮合。
进一步地,所述固定组件包括固定块和两个滑杆,所述固定块固定于所述U形收集管表面的上侧,两个所述滑杆固定于所述U形收集管的表面且位于该固定块的两侧,所述固定块上开设有限位孔,所述限位孔的一侧开设有凹槽。
进一步地,所述凹槽的内部设置有活塞块,所述活塞块的一侧固定连接有卡块,所述活塞块的另一侧固定连接有弹性件,所述活塞块的两侧均固定连接有带动杆,所述带动杆的一端通过滑槽延伸至固定块的外部,所述带动杆的一端通过套环与所述滑杆的滑动连接,所述滑杆的表面滑动连接有套管,所述套管的端部固定连接有按压块。
进一步地,所述U形收集管的两侧均固定连接有支撑块,所述支撑块的顶部固定连接有限位轴,所述限位轴上开设有固定孔。
本实用新型的有益效果是:
本实用新型通过设置喷淋组件,在喷淋时通过电机、齿轮、旋转连接头等配合使喷淋管带动喷头转动进行喷淋,从而增大喷淋面积,使上升的气流可以更加充分的与脱硫剂进行接触,提高反应的效率与质量,且通过设置U形收集盒配合滤网可以对滤下的固体壳体进行收集,并且通过固定组件进行固定安装,对U形收集管和滤网的拆卸与安装均操作简单方便,便于U形收集管和滤网进行清理。
附图说明
图1为本实用新型内部的结构示意图;
图2为本实用新型U形收集管的剖视图;
图3为本实用新型固定组件的剖视图;
图4为本实用新型的限位轴的侧视图;
图5为本实用新型整体的外部结构示意图。
附图标记:1-脱硫箱、2-喷淋组件、21-安装架、22-连接管、23-喷淋管、24-喷头、25-旋转连接头、26-进液管、27-主动齿轮、28-从动齿轮、29-电机、3-进气管、4-U形收集管、5-固定组件、51-固定块、52-滑杆、53-限位孔、54-凹槽、55-活塞块、56-弹性件、57-滑槽、58-带动杆、59-卡块、510- 套管、511-按压块、6-连接管头、7-输气管、8-支撑块、9-限位轴、10-限位槽、11-滤网、12-固定孔。
具体实施方式
为了使本实用新型实现的技术手段、创作特征、达成目的与功效易于明白了解,下面结合具体实施例和附图,进一步阐述本实用新型,但下述实施例仅仅为本实用新型的优选实施例,并非全部。基于实施方式中的实施例,本领域技术人员在没有做出创造性劳动的前提下所获得其它实施例,都属于本发明的保护范围。
下面结合附图描述本实用新型的具体实施例。
如图1-5所示,一种高浓度烟气脱硫除尘设备,包括脱硫箱1和U形收集管4,所述脱硫箱1的上侧设置有喷淋组件2,所述U形收集管4的两端均通过固定组件5固定安装有连接管头6,两个连接管道分别连通有输气管7和进气管3,所述进气管3连通于所述脱硫箱1一侧的底部,所述连接管头6的内部且位于U形收集管4上侧设置有滤网11,所述连接管头6的的端部开设有限位槽10,所述滤网11的边侧位于限位槽10的内部。
滤网11包括外部边框,以及固定在边框内部的滤芯,边框位于限位槽10内部,且限位槽10为环形开设,且滤网11设置在靠近脱硫箱1一侧的连接管头6内部,另一侧的连接管头6未设置滤网11,脱硫箱1顶部的一侧连通有出气管头,脱硫箱1底部连通有出液管,输液管上设置有阀门。
所述喷淋组件2包括安装架21,所述安装架固定于所述脱硫箱1的顶部,所述安装架21的一侧转动连接有连接管22,所述连接管22的底端贯穿脱硫箱1且延伸至脱硫箱1的内部,所述连接管22的底端连通有喷淋管23,所述喷淋管23的底端连通有喷头24,所述连接管22的顶端通过旋转连接头25连通有进液管26。
连接管22贯穿安装架21,且在贯穿处的表面套设有轴承,同时连接管的表面且位于安装架21的顶部和底部均套设有限位环,连接管22与脱硫箱1贯穿处设置机械密封。
所述安装架21顶部固定安装有电机29,所述电机29输出轴的一端通过联轴器固定连接有转动轴,所述转动轴的表面套设有主动齿轮27,所述连接管22的表面套设有从动齿轮28,所述主动齿轮27与从动齿轮28啮合。
电机29通过电源线与外部电源连接供电。
所述固定组件5包括固定块51和两个滑杆52,所述固定块51固定于所述U形收集管4表面的上侧,两个所述滑杆72固定于所述U形收集管4的表面且位于该固定块51的两侧,所述固定块51上开设有限位孔53,所述限位孔53的一侧开设有凹槽54。
所述凹槽54的内部设置有活塞块55,所述活塞块55的一侧固定连接有卡块59,所述活塞块55的另一侧固定连接有弹性件56,所述活塞块55的两侧均固定连接有带动杆58,所述带动杆58的一端通过滑槽57延伸至固定块51的外部,所述带动杆58的一端通过套环与所述滑杆72的滑动连接,所述滑杆52的表面滑动连接有套管510,所述套管510的端部固定连接有按压块511。
当弹性件56正常伸展时卡块59位于限位孔53的内部,且卡块59的底部设置弧形面,U形收集管4的顶端粘接有密封胶垫
凹槽54的两侧通过滑槽57与外部连通。
所述U形收集管4的两侧均固定连接有支撑块8,所述支撑块8的顶部固定连接有限位轴9,所述限位轴9上开设有固定孔12。
限位轴9的直径与限位孔53的直径相同,U形收集管4两侧的管的两侧的上侧均固定连接有支撑块8。
工作原理:当烟气经过输气管7通过位于左侧的连接管头6进入到U形收集管4内部,通过U形收集管4右侧上方的连接管头6内部的滤网11将固体颗粒进行过滤,烟气进过进气管3进入到脱硫箱1内部;
此时脱硫液通过喷淋管23上的喷头喷出,且通过电机29带动主动齿轮27转动,主动齿轮27带动从动齿轮28转动,从而带动连接管22转动,连接管22带动喷淋管23转动,从而增大喷淋面积,使上升的气流可以更加充分的与脱硫剂进行接触,提高反应的效率与质量;
当脱硫结束后,可以通过脱硫箱1顶部的出气管输送至下一个步骤进行处理,处理后的溶液通过脱硫箱1底部的出液管排出;
且滤网11过滤下来的颗粒通过重力的作用直接掉落到U形收集管4内部进行收集,当需要对滤网11以及固定颗粒进行清理时,通过同时按压两个连接管头5两侧的按压块511,然后向下拉动,即可将U形收集管4取下;
其中按压按压块511时,按压块511推动套管510推动套环,套环通过带动杆58带动活塞块55压缩弹性件,并带动卡块59移入凹槽54内部移出限位轴9上的固定孔12;
同时此时可以直接将滤网11取出进行清理或者更换,然后可以将U形收集管4内部收集的固体颗粒倒出;
安装时,将U形收集管4两个管头两侧的限位轴9对应插入到固定块51上的限位孔53内部,且插入时,限位孔53的边侧挤压卡块59的弧形面,使其推动活塞块55压缩弹性件56,进入到凹槽54内部,当限位轴9移动至其上的固定孔12与限位轴9位置对应时,通过弹性件56的作用推动卡块59进入到固定孔12内部对其进行限位,且此时U形收集管4顶端的密封胶垫处于压缩状态,安装简单。
在本实用新型中,除非另有明确的规定和限定,第一特征在第二特征之 “上”或之“下”可以包括第一和第二特征直接接触,也可以包括第一和第二特征不是直接接触而是通过它们之间的另外的特征接触。而且,第一特征在第二特征“之上”、“上方”和“上面”包括第一特征在第二特征正上方和斜上方,或仅仅表示第一特征水平高度高于第二特征。第一特征在第二特征“之下”、“下方”和“下面”包括第一特征在第二特征正下方和斜下方,或仅仅表示第一特征水平高度小于第二特征。
以上显示和描述了本实用新型的基本原理、主要特征和本实用新型的优点。本行业的技术人员应该了解,本实用新型不受上述实施例的限制,上述实施例和说明书中描述的仅为本实用新型的优选例,并不用来限制本实用新型,在不脱离本实用新型精神和范围的前提下,本实用新型还会有各种变化和改进,这些变化和改进都落入要求保护的本实用新型范围内。本实用新型要求保护范围由所附的权利要求书及其等效物界定。

图 1

图 2

图 3

图 4

图 5



