
实用专利
一种脱硫剂加料装置
日期:2020-09-14 15:06浏览次数:
说 明 书 摘 要
本实用新型提供一种脱硫剂加料装置,涉及脱硫剂加料领域,一种脱硫剂加料装置,包括底座,所述底座的表面固定安装有箱体,所述箱体的顶部表面固定安装有防护箱,所述防护箱的顶部两侧均固定安装有滑杆,两个所述滑杆的表面均套设有滑块,两个所述滑块之间固定连接有连接板,所述防护箱的内部设置有推动装置。本实用新型通过使用推动装置和环形喷头的配合使用可以方便带动脱硫剂在箱体的内部进行喷洒,可以使气体和脱硫剂充分的混合,能够使后期的使用不造成影响,使用水泵、进液管和U形出液管的配合使用可以代替人工的手动添加,可以使搭达到半自动化的操作,可以一人操作多台装置,能够加快加料设备的操作速度。

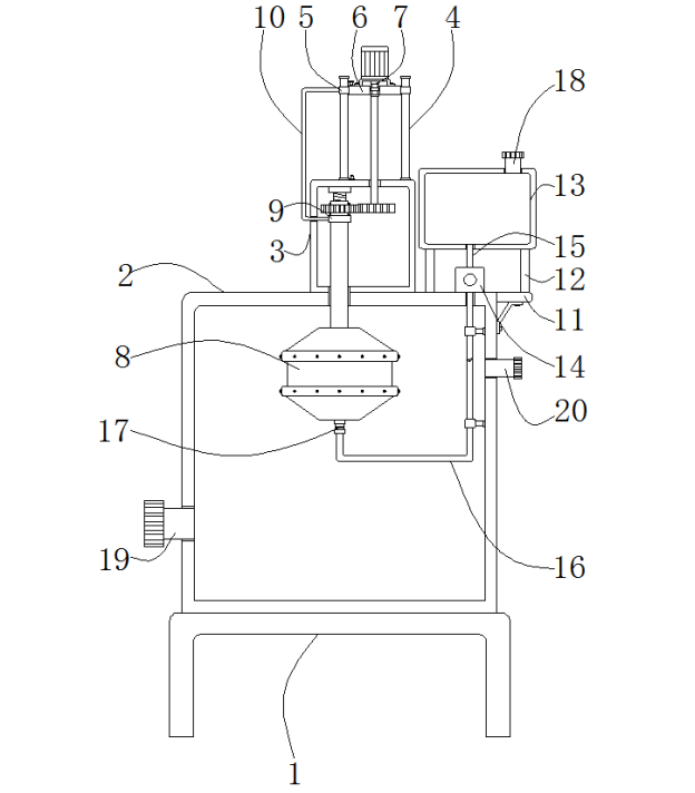
1.一种脱硫剂加料装置,其特征在于:包括底座(1),所述底座(1)的表面固定安装有箱体(2),所述箱体(2)的顶部表面固定安装有防护箱(3),所述防护箱(3)的顶部两侧均固定安装有滑杆(4),两个所述滑杆(4)的表面均套设有滑块(5),两个所述滑块(5)之间固定连接有连接板(6),所述防护箱(3)的内部设置有推动装置(7),所述推动装置(7)包括螺纹杆(71),所述螺纹杆(71)的表面套设有内螺纹套管(72),所述内螺纹套管(72)的表面套设有第一齿轮(73),所述连接板(6)的表面固定安装有电机(74),所述电机(74)输出轴的一端通过连轴器固定连接转动杆(75),所述转动杆(75)的一端固定安装有第二齿轮(76),所述内螺纹套管(72)的底部固定安装有环形喷管(8)。
2.根据权利要求1所述的脱硫剂加料装置,其特征在于:所述内螺纹套管(72)的表面套设有轴承(9),所述轴承(9)的一侧固定连接有U形连接杆(10),所述箱体(2)表面一侧的顶部固定安装有支撑板(11),所述支撑板(11)的表面安装支撑杆(12)。
3.根据权利要求2所述的脱硫剂加料装置,其特征在于:所述支撑杆(12)的顶端固定安装有储料箱(13),所述箱体(2)的表面且位于所述防护箱(3)的一侧固定安装有水泵(14),所述水泵(14)输入端连通有进液管(15),所述水泵(14)输出端连通有U形出液管(16)。
4.根据权利要求1所述的脱硫剂加料装置,其特征在于:所述环形喷管(8)的底部固定安装有旋转接头(17),所述旋转接头(17)的底部与所述U形出液管(16)的一端连通。
5.根据权利要求3所述的脱硫剂加料装置,其特征在于:所述储料箱(13)的顶部连通有注液管(18),所述箱体(2)的一侧连通有进气管(19)。
6.根据权利要求1所述的脱硫剂加料装置,其特征在于:所述箱体(2)的一侧连通有出气管(20),所述箱体(2)与所述防护箱(3)的正面均开设有箱门(21)。
2.根据权利要求1所述的脱硫剂加料装置,其特征在于:所述内螺纹套管(72)的表面套设有轴承(9),所述轴承(9)的一侧固定连接有U形连接杆(10),所述箱体(2)表面一侧的顶部固定安装有支撑板(11),所述支撑板(11)的表面安装支撑杆(12)。
3.根据权利要求2所述的脱硫剂加料装置,其特征在于:所述支撑杆(12)的顶端固定安装有储料箱(13),所述箱体(2)的表面且位于所述防护箱(3)的一侧固定安装有水泵(14),所述水泵(14)输入端连通有进液管(15),所述水泵(14)输出端连通有U形出液管(16)。
4.根据权利要求1所述的脱硫剂加料装置,其特征在于:所述环形喷管(8)的底部固定安装有旋转接头(17),所述旋转接头(17)的底部与所述U形出液管(16)的一端连通。
5.根据权利要求3所述的脱硫剂加料装置,其特征在于:所述储料箱(13)的顶部连通有注液管(18),所述箱体(2)的一侧连通有进气管(19)。
6.根据权利要求1所述的脱硫剂加料装置,其特征在于:所述箱体(2)的一侧连通有出气管(20),所述箱体(2)与所述防护箱(3)的正面均开设有箱门(21)。
一种脱硫剂加料装置
技术领域
本实用新型涉及脱硫剂加料领域,尤其涉及一种脱硫剂加料装置。
背景技术
去除烟道废气中二氧化硫的脱硫剂,采用最多的是廉价的石灰、石灰石和用石灰质药剂配制的碱性溶液,脱硫剂能吸收烟气中大部分的二氧化硫固定在燃料渣内、化工厂、冶炼厂等常采用碳酸钠、碱性硫酸铝等溶液作为脱硫剂处理含二氧化硫的尾气,并可解吸回收利用。
现有的脱硫剂加料装置在使用液体脱硫剂时,需要不同的时间段进行更换和添加脱硫剂,但是现在的的添加方式一般是手动添加,而且不能准确控制添加量,操作麻烦,并且现有的人工手动添加脱硫剂也会造成混合不充分的情况。
实用新型内容
本实用新型的目的在于提供一种脱硫剂加料装置,以解决上述技术问题。
本实用新型为解决上述技术问题,采用以下技术方案来实现:一种脱硫剂加料装置,包括底座,所述底座的表面固定安装有箱体,所述箱体的顶部表面固定安装有防护箱,所述防护箱的顶部两侧均固定安装有滑杆,两个所述滑杆的表面均套设有滑块,两个所述滑块之间固定连接有连接板,所述防护箱的内部设置有推动装置,所述推动装置包括螺纹杆,所述螺纹杆的表面套设有内螺纹套管,所述内螺纹套管的表面套设有第一齿轮,所述连接板的表面固定安装有电机,所述电机输出轴的一端通过连轴器固定连接转动杆,所述转动杆的一端固定安装有第二齿轮,所述内螺纹套管的底部固定安装有环形喷管。
两个滑杆和两个滑块的配合使用可以方便带动电机进行上下水平移动,。防止电机工作时造成偏移。
进一步地,所述内螺纹套管的表面套设有轴承,所述轴承的一侧固定连接有U形连接杆,所述箱体表面一侧的顶部固定安装有支撑板,所述支撑板的表面安装支撑杆。
轴承和U形连接杆的使用可以以带动电机进行移动也启起到固定的作用。
进一步地,所述支撑杆的顶端固定安装有储料箱,所述箱体的表面且位于所述防护箱的一侧固定安装有水泵,所述水泵输入端连通有进液管,所述水泵输出端连通有U形出液管。
进一步地,所述环形喷管的底部固定安装有旋转接头,所述旋转接头的底部与所述U形出液管的一端连通。
进一步地,所述储料箱的顶部连通有注液管,所述箱体的一侧连通有进气管。
进一步地,所述箱体的一侧连通有出气管,所述箱体与所述防护箱的正面均开设有箱门。
本实用新型的有益效果是:
本实用新型通过使用推动装置和环形喷头的配合使用可以方便带动脱硫剂在箱体的内部进行喷洒,可以使气体和脱硫剂充分的混合,能够使后期的使用不造成影响,使用水泵、进液管和U形出液管的配合使用可以代替人工的手动添加,可以使搭达到半自动化的操作,可以一人操作多台装置,能够加快加料设备的操作速度。
附图说明
图1为本实用新型的整体的结构示意图;
图2为本实用新型的推动装置的结构示意图;
图3为本实用新型的外部的结构示意图。
附图标记:1-底座、2-箱体、3-防护箱、4-滑杆、5-滑块、6-连接板、7-推动装置、71-螺纹杆、72-内螺纹套管、73-第一齿轮、74-电机、75-转动杆、76-第二齿轮、8-环形喷管、9-轴承、10-U形连接杆、11-支撑板、12-支撑杆、13-储料箱、14-水泵、15-进液管、16-U形出液管、17-旋转接头、18-注液管、19-进气管、20-出气管、21-箱门。
具体实施方式
为了使本实用新型实现的技术手段、创作特征、达成目的与功效易于明白了解,下面结合具体实施例和附图,进一步阐述本实用新型,但下述实施例仅仅为本实用新型的优选实施例,并非全部。基于实施方式中的实施例,本领域技术人员在没有做出创造性劳动的前提下所获得其它实施例,都属于本发明的保护范围。
下面结合附图描述本实用新型的具体实施例。
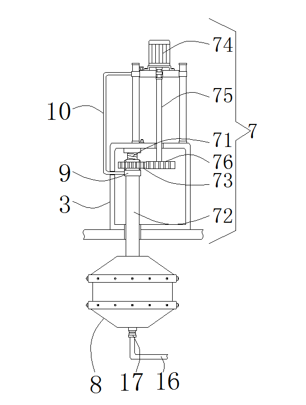
如图1-3所示,一种脱硫剂加料装置,包括底座1,所述底座1的表面固定安装有箱体2,所述箱体2的顶部表面固定安装有防护箱3,所述防护箱3的顶部两侧均固定安装有滑杆4,两个所述滑杆4的表面均套设有滑块5,两个所述滑块5之间固定连接有连接板6,所述防护箱3的内部设置有推动装置7,所述推动装置7包括螺纹杆71,所述螺纹杆71的表面套设有内螺纹套管72,所述内螺纹套管72的表面套设有第一齿轮73,所述连接板6的表面固定安装有电机74,所述电机74输出轴的一端通过连轴器固定连接转动杆75,所述转动杆75的一端固定安装有第二齿轮76,所述内螺纹套管72的底部固定安装有环形喷管8。
第一齿轮73的一侧和第二齿轮76的一侧啮合,电机74输出轴的表面贯穿连接板6的表面且延伸至连接板6的内部,转动杆75的一端贯穿防护箱3的表面且延伸至防护箱3的内部,内螺纹套管72的一端贯穿防护箱3内壁的底部且延伸至箱体2的内部,在防护箱3顶部左侧的滑杆4的表面和防护箱3的顶部表面分别固定安装以后开关,在两个滑杆4的顶端均固定安装有挡板。
所述内螺纹套管72的表面套设有轴承9,所述轴承9的一侧固定连接有U形连接杆10,所述箱体2表面一侧的顶部固定安装有支撑板11,所述支撑板11的表面安装支撑杆12。
U形连接杆10的一端贯穿防护箱3内壁的一侧且延伸至防护箱3的外侧,并与防护箱3顶部左侧的滑杆4表面的滑块5的一侧固定连接,在支撑板11的表面个防护箱3的表面均固定安装有支撑杆12,储料箱13固定安装在两个支撑杆12之间。
所述支撑杆12的顶端固定安装有储料箱13,所述箱体2的表面且位于所述防护箱3的一侧固定安装有水泵14,所述水泵14输入端连通有进液管15,所述水泵14输出端连通有U形出液管16。
进液管15和U形出液管16都使用软管,而且在U形出液管16的表面套设有固定扣,固定扣的一端与箱体2内壁的一侧固定连接。
所述环形喷管8的底部固定安装有旋转接头17,所述旋转接头17的底部与所述U形出液管16的一端连通。
所述储料箱13的顶部连通有注液管18,所述箱体2的一侧连通有进气管19。
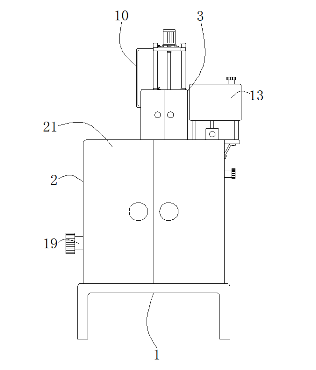
所述箱体2的一侧连通有出气管20,所述箱体2与所述防护箱3的正面均开设有箱门21。
工作原理:操作者首先将液体的脱硫剂通过注液管18注入储料箱13的内部,当储料箱13的内部加满液脱硫剂后,再启动电机74带动转动杆75进行转动,当转动杆75转动时带动第二齿轮76在防护箱3的内部进行转动,当第二齿轮76转动时带动第一齿轮73进行转动,当第一齿轮73转动时带动内螺纹套管72在螺纹杆71的表面进行转动,防护箱3的内部进行转动,当内螺纹套管72转动时带动环形喷管8在箱体2的内部进行升降和转动,当内螺纹套管72向箱体2的内部移动时通过轴承9带动U形连接杆10向防护箱3的一侧移动,当U形连接杆10的移动时通过滑块5和连接板6带动电机74在滑杆4的表面进行移动,当环形喷管8转动时启动水泵14将储料箱13内部的液体脱硫剂通过进液管15将液体脱硫剂送入U形出液管16。
当液体脱硫剂进入U形出液管16的内部后,再通过旋转接头17将液体脱硫剂输送至环形喷管8的内部并通过环形喷管8将液体脱硫剂喷洒至箱体2的内部,当液体脱硫剂喷洒至箱体2的内部后通过进气管19将气体送至箱体2的内部,当箱体2内部的气体与液体脱硫剂混合后通过出气管20排出即可。
在本实用新型中,除非另有明确的规定和限定,第一特征在第二特征之 “上”或之“下”可以包括第一和第二特征直接接触,也可以包括第一和第二特征不是直接接触而是通过它们之间的另外的特征接触。而且,第一特征在第二特征“之上”、“上方”和“上面”包括第一特征在第二特征正上方和斜上方,或仅仅表示第一特征水平高度高于第二特征。第一特征在第二特征“之下”、“下方”和“下面”包括第一特征在第二特征正下方和斜下方,或仅仅表示第一特征水平高度小于第二特征。
以上显示和描述了本实用新型的基本原理、主要特征和本实用新型的优点。本行业的技术人员应该了解,本实用新型不受上述实施例的限制,上述实施例和说明书中描述的仅为本实用新型的优选例,并不用来限制本实用新型,在不脱离本实用新型精神和范围的前提下,本实用新型还会有各种变化和改进,这些变化和改进都落入要求保护的本实用新型范围内。本实用新型要求保护范围由所附的权利要求书及其等效物界定。
技术领域
本实用新型涉及脱硫剂加料领域,尤其涉及一种脱硫剂加料装置。
背景技术
去除烟道废气中二氧化硫的脱硫剂,采用最多的是廉价的石灰、石灰石和用石灰质药剂配制的碱性溶液,脱硫剂能吸收烟气中大部分的二氧化硫固定在燃料渣内、化工厂、冶炼厂等常采用碳酸钠、碱性硫酸铝等溶液作为脱硫剂处理含二氧化硫的尾气,并可解吸回收利用。
现有的脱硫剂加料装置在使用液体脱硫剂时,需要不同的时间段进行更换和添加脱硫剂,但是现在的的添加方式一般是手动添加,而且不能准确控制添加量,操作麻烦,并且现有的人工手动添加脱硫剂也会造成混合不充分的情况。
实用新型内容
本实用新型的目的在于提供一种脱硫剂加料装置,以解决上述技术问题。
本实用新型为解决上述技术问题,采用以下技术方案来实现:一种脱硫剂加料装置,包括底座,所述底座的表面固定安装有箱体,所述箱体的顶部表面固定安装有防护箱,所述防护箱的顶部两侧均固定安装有滑杆,两个所述滑杆的表面均套设有滑块,两个所述滑块之间固定连接有连接板,所述防护箱的内部设置有推动装置,所述推动装置包括螺纹杆,所述螺纹杆的表面套设有内螺纹套管,所述内螺纹套管的表面套设有第一齿轮,所述连接板的表面固定安装有电机,所述电机输出轴的一端通过连轴器固定连接转动杆,所述转动杆的一端固定安装有第二齿轮,所述内螺纹套管的底部固定安装有环形喷管。
两个滑杆和两个滑块的配合使用可以方便带动电机进行上下水平移动,。防止电机工作时造成偏移。
进一步地,所述内螺纹套管的表面套设有轴承,所述轴承的一侧固定连接有U形连接杆,所述箱体表面一侧的顶部固定安装有支撑板,所述支撑板的表面安装支撑杆。
轴承和U形连接杆的使用可以以带动电机进行移动也启起到固定的作用。
进一步地,所述支撑杆的顶端固定安装有储料箱,所述箱体的表面且位于所述防护箱的一侧固定安装有水泵,所述水泵输入端连通有进液管,所述水泵输出端连通有U形出液管。
进一步地,所述环形喷管的底部固定安装有旋转接头,所述旋转接头的底部与所述U形出液管的一端连通。
进一步地,所述储料箱的顶部连通有注液管,所述箱体的一侧连通有进气管。
进一步地,所述箱体的一侧连通有出气管,所述箱体与所述防护箱的正面均开设有箱门。
本实用新型的有益效果是:
本实用新型通过使用推动装置和环形喷头的配合使用可以方便带动脱硫剂在箱体的内部进行喷洒,可以使气体和脱硫剂充分的混合,能够使后期的使用不造成影响,使用水泵、进液管和U形出液管的配合使用可以代替人工的手动添加,可以使搭达到半自动化的操作,可以一人操作多台装置,能够加快加料设备的操作速度。
附图说明
图1为本实用新型的整体的结构示意图;
图2为本实用新型的推动装置的结构示意图;
图3为本实用新型的外部的结构示意图。
附图标记:1-底座、2-箱体、3-防护箱、4-滑杆、5-滑块、6-连接板、7-推动装置、71-螺纹杆、72-内螺纹套管、73-第一齿轮、74-电机、75-转动杆、76-第二齿轮、8-环形喷管、9-轴承、10-U形连接杆、11-支撑板、12-支撑杆、13-储料箱、14-水泵、15-进液管、16-U形出液管、17-旋转接头、18-注液管、19-进气管、20-出气管、21-箱门。
具体实施方式
为了使本实用新型实现的技术手段、创作特征、达成目的与功效易于明白了解,下面结合具体实施例和附图,进一步阐述本实用新型,但下述实施例仅仅为本实用新型的优选实施例,并非全部。基于实施方式中的实施例,本领域技术人员在没有做出创造性劳动的前提下所获得其它实施例,都属于本发明的保护范围。
下面结合附图描述本实用新型的具体实施例。
如图1-3所示,一种脱硫剂加料装置,包括底座1,所述底座1的表面固定安装有箱体2,所述箱体2的顶部表面固定安装有防护箱3,所述防护箱3的顶部两侧均固定安装有滑杆4,两个所述滑杆4的表面均套设有滑块5,两个所述滑块5之间固定连接有连接板6,所述防护箱3的内部设置有推动装置7,所述推动装置7包括螺纹杆71,所述螺纹杆71的表面套设有内螺纹套管72,所述内螺纹套管72的表面套设有第一齿轮73,所述连接板6的表面固定安装有电机74,所述电机74输出轴的一端通过连轴器固定连接转动杆75,所述转动杆75的一端固定安装有第二齿轮76,所述内螺纹套管72的底部固定安装有环形喷管8。
第一齿轮73的一侧和第二齿轮76的一侧啮合,电机74输出轴的表面贯穿连接板6的表面且延伸至连接板6的内部,转动杆75的一端贯穿防护箱3的表面且延伸至防护箱3的内部,内螺纹套管72的一端贯穿防护箱3内壁的底部且延伸至箱体2的内部,在防护箱3顶部左侧的滑杆4的表面和防护箱3的顶部表面分别固定安装以后开关,在两个滑杆4的顶端均固定安装有挡板。
所述内螺纹套管72的表面套设有轴承9,所述轴承9的一侧固定连接有U形连接杆10,所述箱体2表面一侧的顶部固定安装有支撑板11,所述支撑板11的表面安装支撑杆12。
U形连接杆10的一端贯穿防护箱3内壁的一侧且延伸至防护箱3的外侧,并与防护箱3顶部左侧的滑杆4表面的滑块5的一侧固定连接,在支撑板11的表面个防护箱3的表面均固定安装有支撑杆12,储料箱13固定安装在两个支撑杆12之间。
所述支撑杆12的顶端固定安装有储料箱13,所述箱体2的表面且位于所述防护箱3的一侧固定安装有水泵14,所述水泵14输入端连通有进液管15,所述水泵14输出端连通有U形出液管16。
进液管15和U形出液管16都使用软管,而且在U形出液管16的表面套设有固定扣,固定扣的一端与箱体2内壁的一侧固定连接。
所述环形喷管8的底部固定安装有旋转接头17,所述旋转接头17的底部与所述U形出液管16的一端连通。
所述储料箱13的顶部连通有注液管18,所述箱体2的一侧连通有进气管19。
所述箱体2的一侧连通有出气管20,所述箱体2与所述防护箱3的正面均开设有箱门21。
工作原理:操作者首先将液体的脱硫剂通过注液管18注入储料箱13的内部,当储料箱13的内部加满液脱硫剂后,再启动电机74带动转动杆75进行转动,当转动杆75转动时带动第二齿轮76在防护箱3的内部进行转动,当第二齿轮76转动时带动第一齿轮73进行转动,当第一齿轮73转动时带动内螺纹套管72在螺纹杆71的表面进行转动,防护箱3的内部进行转动,当内螺纹套管72转动时带动环形喷管8在箱体2的内部进行升降和转动,当内螺纹套管72向箱体2的内部移动时通过轴承9带动U形连接杆10向防护箱3的一侧移动,当U形连接杆10的移动时通过滑块5和连接板6带动电机74在滑杆4的表面进行移动,当环形喷管8转动时启动水泵14将储料箱13内部的液体脱硫剂通过进液管15将液体脱硫剂送入U形出液管16。
当液体脱硫剂进入U形出液管16的内部后,再通过旋转接头17将液体脱硫剂输送至环形喷管8的内部并通过环形喷管8将液体脱硫剂喷洒至箱体2的内部,当液体脱硫剂喷洒至箱体2的内部后通过进气管19将气体送至箱体2的内部,当箱体2内部的气体与液体脱硫剂混合后通过出气管20排出即可。
在本实用新型中,除非另有明确的规定和限定,第一特征在第二特征之 “上”或之“下”可以包括第一和第二特征直接接触,也可以包括第一和第二特征不是直接接触而是通过它们之间的另外的特征接触。而且,第一特征在第二特征“之上”、“上方”和“上面”包括第一特征在第二特征正上方和斜上方,或仅仅表示第一特征水平高度高于第二特征。第一特征在第二特征“之下”、“下方”和“下面”包括第一特征在第二特征正下方和斜下方,或仅仅表示第一特征水平高度小于第二特征。
以上显示和描述了本实用新型的基本原理、主要特征和本实用新型的优点。本行业的技术人员应该了解,本实用新型不受上述实施例的限制,上述实施例和说明书中描述的仅为本实用新型的优选例,并不用来限制本实用新型,在不脱离本实用新型精神和范围的前提下,本实用新型还会有各种变化和改进,这些变化和改进都落入要求保护的本实用新型范围内。本实用新型要求保护范围由所附的权利要求书及其等效物界定。

图 1

图 2

图 3



