实用专利


实用专利

一种脱硫使用的石灰浆反应装置

日期:2020-09-14 15:06浏览次数:

说    明    书    摘    要
本实用新型提供一种脱硫使用的石灰浆反应装置,涉及脱硫技术领域,包括底板,所述底板顶部的两侧均固定连接有伸缩杆,所述伸缩杆的顶端固定连接有反应箱,所述底板的顶部且位于伸缩杆的一侧通过支撑杆转动连接有齿轮,所述齿轮的正面套设有第二传动轮。本实用新型通过第一电机和第二电机的启动,当第一电机启动时,可间接通过搅拌轴使得搅拌杆对石灰和回水进行搅拌,当第二电机启动时,可间接通过第一传动轮带动第二传动轮进行旋转,通过第二传动轮的旋转可间接带动齿轮旋转,由于齿轮与齿牙啮合,齿牙固定在反应箱的一侧,这时,反应箱就会上下移动,通过反应箱的来回移动,可加快石灰和回水的搅拌速率。
 
 
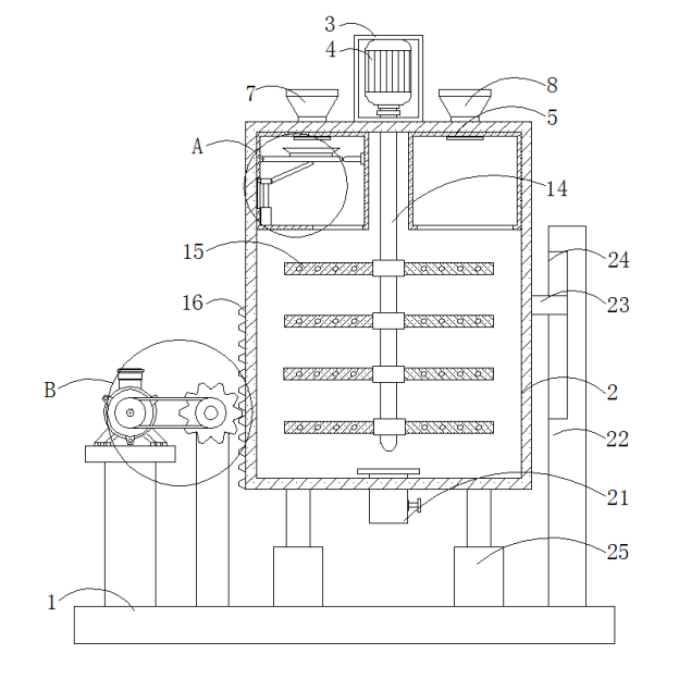
1.一种脱硫使用的石灰浆反应装置,其特征在于:包括底板(1),所述底板(1)顶部的两侧均固定连接有伸缩杆(25),所述伸缩杆(25)的顶端固定连接有反应箱(2),所述底板(1)的顶部且位于伸缩杆(25)的一侧通过支撑杆转动连接有齿轮(18),所述齿轮(18)的正面套设有第二传动轮(20),所述底板(1)的顶部且位于齿轮(18)的一侧通过支撑板固定连接有第二电机(17),所述第二电机(17)的正面套设有第一传动轮(19),所述第一传动轮(19)的外表面与第二传动轮(20)的外表面通过皮带传动连接,所述反应箱(2)的一侧固定连接有与齿轮(18)啮合的齿牙(16),所述底板(1)的顶部且位于伸缩杆(25)的另一侧固定连接有立柱(22),所述反应箱(2)的另一侧固定连接有滑杆(23),所述立柱(22)的内部开设有与滑杆(23)配合使用的滑槽(24),所述反应箱(2)的顶部固定连接有电机箱(3),所述电机箱(3)内壁的顶部固定连接有第一电机(4),所述第一电机(4)输出轴的外表面通过联轴器固定连接有搅拌轴(14),所述搅拌轴(14)的另一端依次贯穿电机箱(3)和反应箱(2)并延伸至反应箱(2)的内部。
2.根据权利要求1所述的一种脱硫使用的石灰浆反应装置,其特征在于:所述搅拌轴(14)延伸至反应箱(2)内部移动的两侧均固定连接有搅拌杆(15)。
3.根据权利要求1所述的一种脱硫使用的石灰浆反应装置,其特征在于:所述反应箱(2)内壁的一侧固定连接有回水进料箱(5),所述反应箱(2)顶部的一侧固定连接有与回水进料箱(5)配合使用的回水进料斗(8)。
4.根据权利要求3所述的一种脱硫使用的石灰浆反应装置,其特征在于:所述反应箱(2)内壁的另一侧固定连接有石灰进料箱(6),所述反应箱(2)顶部的另一侧固定连接有与石灰进料箱(6)配合使用的石灰进料斗(7)。
5.根据权利要求4所述的一种脱硫使用的石灰浆反应装置,其特征在于:所述石灰进料箱(6)内壁的一侧通过销钉活动连接有下料板(9),所述下料板(9)的顶部固定连接有电子秤(10),所述石灰进料箱(6)内壁的另一侧固定连接有配合下料板(9)使用的辅助板,所述石灰进料箱(6)内壁底部的一侧固定连接有电动推杆(11)。
6.根据权利要求5所述的一种脱硫使用的石灰浆反应装置,其特征在于:所述电动推杆(11)的顶端固定连接有顶块(12),所述顶块(12)的一侧通过销钉活动连接有连接杆(13),所述连接杆(13)的另一端通过销钉与下料板(9)的底部活动连接。
7.根据权利要求1所述的一种脱硫使用的石灰浆反应装置,其特征在于:所述反应箱(2)的底部固定连接有出料管(21)。
 
一种脱硫使用的石灰浆反应装置
 
技术领域
本实用新型涉及脱硫技术领域,尤其涉及一种脱硫使用的石灰浆反应装置。
背景技术
在对大气质量造成影响的各种气态污染物中,二氧化硫烟气的数量最多,影响最广,工业生产过程排放的二氧化硫烟气中的二氧化硫浓度较高且含有大量的粉尘,石灰石石膏湿法烟气脱硫是目前燃煤火电厂烟气脱硫应用最广泛的方法;采用石灰石浆液作脱硫吸收剂,吸收浆液与烟气接触混合后,烟气中的二氧化硫与浆液中的碳酸钙进行化学反应,二氧化硫与浆液中的碳酸钙反应后形成石膏,从而让二氧化硫从而烟气中脱离,实现湿法脱硫。
现有技术中的脱硫使用的石灰浆反应装置在对石灰和回水进行搅拌时,不能够对其进行充分搅拌,从而降低了装置整体的生产效率,给工作人员的使用带来许多不便。
实用新型内容
本实用新型的目的在于提供一种脱硫使用的石灰浆反应装置,以解决上述技术问题。
本实用新型为解决上述技术问题,采用以下技术方案来实现:一种脱硫使用的石灰浆反应装置包括底板,所述底板顶部的两侧均固定连接有伸缩杆,所述伸缩杆的顶端固定连接有反应箱,所述底板的顶部且位于伸缩杆的一侧通过支撑杆转动连接有齿轮,所述齿轮的正面套设有第二传动轮,所述底板的顶部且位于齿轮的一侧通过支撑板固定连接有第二电机,所述第二电机的正面套设有第一传动轮,所述第一传动轮的外表面与第二传动轮的外表面通过皮带传动连接,所述反应箱的一侧固定连接有与齿轮啮合的齿牙,所述底板的顶部且位于伸缩杆的另一侧固定连接有立柱,所述反应箱的另一侧固定连接有滑杆,所述立柱的内部开设有与滑杆配合使用的滑槽,所述反应箱的顶部固定连接有电机箱,所述电机箱内壁的顶部固定连接有第一电机,所述第一电机输出轴的外表面通过联轴器固定连接有搅拌轴,所述搅拌轴的另一端依次贯穿电机箱和反应箱并延伸至反应箱的内部。
本装置第一电机和第二电机的通电方式均为外接电源,第一电机和第二电机均为伺服电机,并且本装置反应箱石灰进料箱处设置有透明可视窗,可方便对石灰进行定量加料。
进一步地,所述搅拌轴延伸至反应箱内部移动的两侧均固定连接有搅拌杆。
搅拌杆对称分布在搅拌轴的两侧。
进一步地,所述反应箱内壁的一侧固定连接有回水进料箱,所述反应箱顶部的一侧固定连接有与回水进料箱配合使用的回水进料斗。
回水进料箱分布在搅拌轴一侧的顶部。
进一步地,所述反应箱内壁的另一侧固定连接有石灰进料箱,所述反应箱顶部的另一侧固定连接有与石灰进料箱配合使用的石灰进料斗。
石灰进料箱分布在搅拌轴另一侧的顶部,石灰进料箱与回水进料箱呈对称分布。
进一步地,所述石灰进料箱内壁的一侧通过销钉活动连接有下料板,所述下料板的顶部固定连接有电子秤,所述石灰进料箱内壁的另一侧固定连接有配合下料板使用的辅助板,所述石灰进料箱内壁底部的一侧固定连接有电动推杆。
下料板的另一侧与辅助板的一侧相抵触。
进一步地,所述电动推杆的顶端固定连接有顶块,所述顶块的一侧通过销钉活动连接有连接杆,所述连接杆的另一端通过销钉与下料板的底部活动连接。
电动推杆的通电方式为外接电源。
进一步地,所述反应箱的底部固定连接有出料管。
出料管位于两个伸缩杆之间。
    本实用新型的有益效果是:
本实用新型通过第一电机和第二电机的启动,当第一电机启动时,可间接通过搅拌轴使得搅拌杆对石灰和回水进行搅拌,当第二电机启动时,可间接通过第一传动轮带动第二传动轮进行旋转,通过第二传动轮的旋转可间接带动齿轮旋转,由于齿轮与齿牙啮合,齿牙固定在反应箱的一侧,这时,反应箱就会上下移动,通过反应箱的来回移动,可加快石灰和回水的搅拌速率,使得石灰与回收的接触面积增大,从而可提高装置整体的生产速率,进而为工作人员的使用提供了极大的便捷,便于对其进行推广。 
附图说明
图1为本实用新型的结构示意图;
图2为本实用新型的A处局部放大图;
图3为本实用新型的B处局部放大图;
图4为本实用新型的外部图。
附图标记:1-底板、2-反应箱、3-电机箱、4-第一电机、5-回水进料箱、6-石灰进料箱、7-石灰进料斗、8-回水进料斗、9-下料板、10-电子秤、11-电动推杆、12-顶块、13-连接杆、14-搅拌轴、15-搅拌杆、16-齿牙、17-第二电机、18-齿轮、19-第一传动轮、20-第一传动轮、21-出料管、22-立柱、23-滑杆、24-滑槽、25-伸缩杆。
具体实施方式
为了使本实用新型实现的技术手段、创作特征、达成目的与功效易于明白了解,下面结合具体实施例和附图,进一步阐述本实用新型,但下述实施例仅仅为本实用新型的优选实施例,并非全部。基于实施方式中的实施例,本领域技术人员在没有做出创造性劳动的前提下所获得其它实施例,都属于本发明的保护范围。
下面结合附图描述本实用新型的具体实施例。
如图1-4所示,一种脱硫使用的石灰浆反应装置,包括底板1,所述底板1顶部的两侧均固定连接有伸缩杆25,所述伸缩杆25的顶端固定连接有反应箱2,所述底板1的顶部且位于伸缩杆25的一侧通过支撑杆转动连接有齿轮18,所述齿轮18的正面套设有第二传动轮20,所述底板1的顶部且位于齿轮18的一侧通过支撑板固定连接有第二电机17,所述第二电机17的正面套设有第一传动轮19,所述第一传动轮19的外表面与第二传动轮20的外表面通过皮带传动连接,所述反应箱2的一侧固定连接有与齿轮18啮合的齿牙16,所述底板1的顶部且位于伸缩杆25的另一侧固定连接有立柱22,所述反应箱2的另一侧固定连接有滑杆23,所述立柱22的内部开设有与滑杆23配合使用的滑槽24,所述反应箱2的顶部固定连接有电机箱3,所述电机箱3内壁的顶部固定连接有第一电机4,所述第一电机4输出轴的外表面通过联轴器固定连接有搅拌轴14,所述搅拌轴14的另一端依次贯穿电机箱3和反应箱2并延伸至反应箱2的内部。
本实用新型的反应箱2的另一侧固定有滑杆23,通过滑杆23与滑槽24的配合使用,可提高反应箱2运动时的稳定性,并且本装置通过在石灰进料箱6的内部设置下料板9、电子秤10、辅助板、电动推杆11、顶块12和连接杆13等,可实现石灰的定量进料,从而可方便工作人员的使用。
所述搅拌轴14延伸至反应箱2内部移动的两侧均固定连接有搅拌杆15。
搅拌杆15的内部设置有搅拌孔,通过搅拌孔的设置,可方便对石灰和回水进行充分搅拌。
所述反应箱2内壁的一侧固定连接有回水进料箱5,所述反应箱2顶部的一侧固定连接有与回水进料箱5配合使用的回水进料斗8。
回水进料箱5内部设置有出口,通过出口的设置,可方便回水进行反应箱2的内部。
所述反应箱2内壁的另一侧固定连接有石灰进料箱6,所述反应箱2顶部的另一侧固定连接有与石灰进料箱6配合使用的石灰进料斗7。
石灰进料箱6的内部设置有通口,通过通口的设置,可方便石灰进入反应箱2的内部。
所述石灰进料箱6内壁的一侧通过销钉活动连接有下料板9,所述下料板9的顶部固定连接有电子秤10,所述石灰进料箱6内壁的另一侧固定连接有配合下料板9使用的辅助板,所述石灰进料箱6内壁底部的一侧固定连接有电动推杆11。
通过电子秤10的设置,可方便对石灰进行定量称取,可便于石灰的定量进料。
所述电动推杆11的顶端固定连接有顶块12,所述顶块12的一侧通过销钉活动连接有连接杆13,所述连接杆13的另一端通过销钉与下料板9的底部活动连接。
顶块12的一侧固定有辅助块,石灰进料箱6的内部设置有配合辅助块使用的辅助槽,通过辅助槽和辅助块的配合使用,可提高顶块12运动时的稳定性。
所述反应箱2的底部固定连接有出料管21。
出料管21上设置有阀门,通过阀门的设置,可便于石灰浆的下料。
工作原理:在使用时,将石灰通过石灰进料斗7使其进入石灰进料箱6的内部,通过电子秤10称取实际工作所需要的石灰,石灰称取完成后,启动电动推杆11,使得电动推杆11缩短,这时,下料板9就会向下倾斜,石灰就会进入反应箱2的内部,同时,回水通过回水进料斗8进入回水进料箱5的内部,通过回水进料箱5可进入反应箱2的内部;
石灰和回水添加完成后,启动第一电机4和第二电机17,第一电机4启动时,搅拌轴14就会进行旋转,通过搅拌轴14的旋转可间接带动搅拌杆15对石灰和回水进行搅拌,可加快反应速率;
第二电机17启动时,就会带动第一传动轮19进行旋转,由于第一传动轮19的外表面与第二传动轮20的外表面通过皮带传动连接,通过皮带传动作用可间接带动第二传动轮10进行旋转,这时,齿轮18就会进行旋转,通过齿轮18与反应箱2一侧的齿牙16啮合,通过啮合作用,可带动反应箱2上下移动,从而可进一步加快石灰与回水的反应速率,反应完成后,石灰浆可通过出料管21处排出。
在本实用新型中,除非另有明确的规定和限定,第一特征在第二特征之 “上”或之“下”可以包括第一和第二特征直接接触,也可以包括第一和第二特征不是直接接触而是通过它们之间的另外的特征接触。而且,第一特征在第二特征“之上”、“上方”和“上面”包括第一特征在第二特征正上方和斜上方,或仅仅表示第一特征水平高度高于第二特征。第一特征在第二特征“之下”、“下方”和“下面”包括第一特征在第二特征正下方和斜下方,或仅仅表示第一特征水平高度小于第二特征。
以上显示和描述了本实用新型的基本原理、主要特征和本实用新型的优点。本行业的技术人员应该了解,本实用新型不受上述实施例的限制,上述实施例和说明书中描述的仅为本实用新型的优选例,并不用来限制本实用新型,在不脱离本实用新型精神和范围的前提下,本实用新型还会有各种变化和改进,这些变化和改进都落入要求保护的本实用新型范围内。本实用新型要求保护范围由所附的权利要求书及其等效物界定。
 
图 1
图 2
 
 
 
 
 
图 3
图 4