
实用专利
一种烟气脱硝的装置
日期:2020-09-14 15:05浏览次数:
说 明 书 摘 要
本实用新型提供一种烟气脱硝的装置,包括箱体,所述箱体内部的一侧固定安装有引风组件,所述箱体的内部且位于所述引风组件的一侧设置有旋转喷流组件,所述引风组件通过旋转喷流组件传动连接,涉及烟气脱硝领域。本实用新型通过设置引风组件将烟气引入到箱体内部,且通过传动组件将引风组件与旋转喷流组件传动连接,当引风组件工作时,同时带动旋转喷流组件转动,旋转喷流组件喷出还原剂的同时旋转,使气流可以更加快速的充满箱体,提高与烟气混合速度与均匀度,提高烟气脱硝的效率与质量,且通过一个电机驱动更加的节能环保,同时设置滤网可以对烟气中的固体颗粒进行滤除,并且滤网便于拆卸安装,方便对其清理和更换。

1.一种烟气脱硝的装置,其特征在于:包括箱体(1),所述箱体(1)内部的一侧固定安装有引风组件(2),所述箱体(1)的内部且位于所述引风组件(2)的一侧设置有旋转喷流组件(3),所述引风组件(2)通过旋转喷流组件(3)传动连接,所述旋转喷流组件(3)包括支撑臂(31),所述支撑臂(31)转动连接于所述箱体(1)内壁的底部,所述支撑臂(31)的顶部固定连接有喷流器(32),所述喷流器(32)的周侧面连通有喷头(33),所述喷流器(32)的顶部连通有连接管(34),所述连接管(34)的顶端通过旋转连接头(36)连接有输气管(35),所述箱体(1)的两侧分别连通有进气管(5)和排气管(6),所述进气管(5)内部通过卡接组件(7)固定安装有滤网(8)。
2.根据权利要求1所述的烟气脱硝的装置,其特征在于:所述引风组件(2)包括固定环(21),所述固定环(21)固定于所述箱体(1)的内表面,所述固定环(21)内表面通过固定杆固定连接电机(22),所述电机(22)输出轴的一端通过联轴器固定连接转动轴(23),所述转动轴(23)的一端固定连接有风扇(24)。
3.根据权利要求1所述的烟气脱硝的装置,其特征在于:所述传动组件(4)包括支撑件(41),所述支撑件(41)固定于所述箱体(1)内壁的顶部,所述支撑件(41)的上转动连接有传动杆(42),所述传动杆(42)的两端分别套设有第一皮带轮(43)和第一锥齿轮。
4.根据权利要求2所述的烟气脱硝的装置,其特征在于:所述转动轴(23)的表面套设有第二皮带轮(44),所述第二皮带轮(44)通过皮带与第一皮带轮(43)传动连接,所述连接管(34)的表面套设有第二锥齿轮,所述第二锥齿轮与第一锥齿轮啮合。
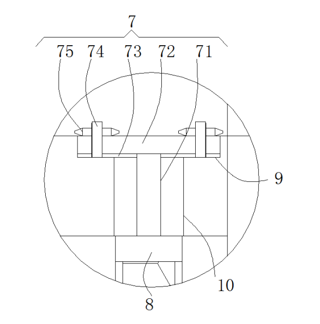
5.根据权利要求1所述的烟气脱硝的装置,其特征在于:所述卡接组件(7)包括连接板(71)和螺纹轴(74),所述连接板(71)固定于所述滤网(8)的顶部,所述连接板(71)的顶部固定连接有密封板(72),所述密封板(72)的底部粘接有密封块(73),所述密封板(72)的两侧均开设有固定孔。
6.根据权利要求5所述的烟气脱硝的装置,其特征在于:所述进气管(5)的顶部开设有密封槽(9),所述密封槽(9)内表面的底部开设有通槽(10),所述螺纹轴(74)固定于所述密封槽(9)内表面的底部,所述螺纹轴(74)的表面螺纹连接有星型螺母(75)。
2.根据权利要求1所述的烟气脱硝的装置,其特征在于:所述引风组件(2)包括固定环(21),所述固定环(21)固定于所述箱体(1)的内表面,所述固定环(21)内表面通过固定杆固定连接电机(22),所述电机(22)输出轴的一端通过联轴器固定连接转动轴(23),所述转动轴(23)的一端固定连接有风扇(24)。
3.根据权利要求1所述的烟气脱硝的装置,其特征在于:所述传动组件(4)包括支撑件(41),所述支撑件(41)固定于所述箱体(1)内壁的顶部,所述支撑件(41)的上转动连接有传动杆(42),所述传动杆(42)的两端分别套设有第一皮带轮(43)和第一锥齿轮。
4.根据权利要求2所述的烟气脱硝的装置,其特征在于:所述转动轴(23)的表面套设有第二皮带轮(44),所述第二皮带轮(44)通过皮带与第一皮带轮(43)传动连接,所述连接管(34)的表面套设有第二锥齿轮,所述第二锥齿轮与第一锥齿轮啮合。
5.根据权利要求1所述的烟气脱硝的装置,其特征在于:所述卡接组件(7)包括连接板(71)和螺纹轴(74),所述连接板(71)固定于所述滤网(8)的顶部,所述连接板(71)的顶部固定连接有密封板(72),所述密封板(72)的底部粘接有密封块(73),所述密封板(72)的两侧均开设有固定孔。
6.根据权利要求5所述的烟气脱硝的装置,其特征在于:所述进气管(5)的顶部开设有密封槽(9),所述密封槽(9)内表面的底部开设有通槽(10),所述螺纹轴(74)固定于所述密封槽(9)内表面的底部,所述螺纹轴(74)的表面螺纹连接有星型螺母(75)。
一种烟气脱硝的装置
技术领域
本实用新型涉及烟气脱硝领域,尤其涉及一种烟气脱硝的装置。
背景技术
烟气脱硝技术主要有干法(选择性催化还原烟气脱硝、选择性非催化还原法脱硝)和湿法两种。与湿法烟气脱硝技术相比,干法烟气脱硝技术的主要优点是:基本投资低,设备及工艺过程简单,脱除NOX的效率也较高,无废水和废弃物处理,不易造成二次污染。
现有烟气脱硝包括向烟气中通入氨气等还原性气体对烟气中的硝还原为N2,但目前反应气体与烟气接触混合速度慢,充分度低,使烟气中脱硝效率低,使脱硝的烟气中含含硝量高。
实用新型内容
本实用新型的目的在于提供一种烟气脱硝的装置,以解决上述技术问题。
本实用新型为解决上述技术问题,采用以下技术方案来实现:一种烟气脱硝的装置,包括箱体,所述箱体内部的一侧固定安装有引风组件,所述箱体的内部且位于所述引风组件的一侧设置有旋转喷流组件,所述引风组件通过旋转喷流组件传动连接,所述旋转喷流组件包括支撑臂,所述支撑臂转动连接于所述箱体内壁的底部,所述支撑臂的顶部固定连接有喷流器,所述喷流器的周侧面连通有喷头,所述喷流器的顶部连通有连接管,所述连接管的顶端通过旋转连接头连接有输气管,所述箱体的两侧分别连通有进气管和排气管,所述进气管内部通过卡接组件固定安装有滤网。
进一步地,所述引风组件包括固定环,所述固定环固定于所述箱体的内表面,所述固定环内表面通过固定杆固定连接电机,所述电机输出轴的一端通过联轴器固定连接转动轴,所述转动轴的一端固定连接有风扇。
进一步地,所述传动组件包括支撑件,所述支撑件固定于所述箱体内壁的顶部,所述支撑件的上转动连接有传动杆,所述传动杆的两端分别套设有第一皮带轮和第一锥齿轮。
进一步地,所述转动轴的表面套设有第二皮带轮,所述第二皮带轮通过皮带与第一皮带轮传动连接,所述连接管的表面套设有第二锥齿轮,所述第二锥齿轮与第一锥齿轮啮合。
电机带动转动轴转动时,可以通过过第二皮带轮带动第一皮带轮转动,从而带动传动杆转动,传动杆通过一端的第一锥齿轮带动第二锥齿轮转动,从而带动进气管转动,进气管带动喷流器转动,通过带动喷流器旋转可以使反应气流快速的充满箱体,并且旋转可以更加快速的带动气流之间混合,提高烟气脱硝的效率与质量。
进一步地,所述卡接组件包括连接板和螺纹轴,所述连接板固定于所述滤网的顶部,所述连接板的顶部固定连接有密封板,所述密封板的底部粘接有密封块,所述密封板的两侧均开设有固定孔。
通过设置密封块保证密封板与进气管之间的密封性。
进一步地,所述进气管的顶部开设有密封槽,所述密封槽内表面的底部开设有通槽,所述螺纹轴固定于所述密封槽内表面的底部,所述螺纹轴的表面螺纹连接有星型螺母。
通过设置星型螺母便于将转动拆卸。
本实用新型的有益效果是:
本实用新型通过设置引风组件将烟气引入到箱体内部,且通过传动组件将引风组件与旋转喷流组件传动连接,当引风组件工作时,同时带动旋转喷流组件转动,旋转喷流组件喷出还原剂的同时旋转,使气流可以更加快速的充满箱体,提高与烟气混合速度与均匀度,提高烟气脱硝的效率与质量,且通过一个电机驱动更加的节能环保,同时设置滤网可以对烟气中的固体颗粒进行滤除,并且滤网便于拆卸安装,方便对其清理和更换。
附图说明
图1为本实用新型内部的结构示意图;
图2为本实用新型外部的结构示意图;
图3为本实用新型图1中A部的放大图;
图4为本实用新型进气管的俯视图。
附图标记:1-箱体、2-引风组件、21-固定环、22-电机、23-转动轴、24-风扇、3-旋转喷流组件、31-支撑臂、32-喷流器、33-喷头、34-连接管、35-旋转连接头、36-输气管、4-传动组件、41-支撑件、42-传动杆、43-第一皮带轮、44-第二皮带轮、45-皮带、5-进气管、6-排气管、7-卡接组件、71-连接板、72-密封板、73-密封块、74-螺纹轴、75-星型螺母、8-滤网、9-密封槽、10-通槽。
具体实施方式
为了使本实用新型实现的技术手段、创作特征、达成目的与功效易于明白了解,下面结合具体实施例和附图,进一步阐述本实用新型,但下述实施例仅仅为本实用新型的优选实施例,并非全部。基于实施方式中的实施例,本领域技术人员在没有做出创造性劳动的前提下所获得其它实施例,都属于本发明的保护范围。
下面结合附图描述本实用新型的具体实施例。
如图1-4所示,一种烟气脱硝的装置,包括箱体1,所述箱体1内部的一侧固定安装有引风组件2,所述箱体1的内部且位于所述引风组件2的一侧设置有旋转喷流组件3,所述引风组件2通过旋转喷流组件3传动连接,所述旋转喷流组件3包括支撑臂31,所述支撑臂31转动连接于所述箱体1内壁的底部,所述支撑臂31的顶部固定连接有喷流器32,所述喷流器32的周侧面连通有喷头33,所述喷流器32的顶部连通有连接管34,所述连接管34的顶端通过旋转连接头36连接有输气管35,所述箱体1的两侧分别连通有进气管5和排气管6,所述进气管5内部通过卡接组件7固定安装有滤网8。
滤网包括外侧的框架以及内部的滤芯,连接管34贯穿箱体1且延伸至箱体的外部,所述连接管34与箱体1贯穿处进行密封处理。
所述引风组件2包括固定环21,所述固定环21固定于所述箱体1的内表面,所述固定环21内表面通过固定杆固定连接电机22,所述电机22输出轴的一端通过联轴器固定连接转动轴23,所述转动轴23的一端固定连接有风扇24。
电机通过电源线与外部电源连接供电。
所述传动组件4包括支撑件41,所述支撑件41固定于所述箱体1内壁的顶部,所述支撑件41的上转动连接有传动杆42,所述传动杆42的两端分别套设有第一皮带轮43和第一锥齿轮。
支撑件41包括固定架,固定架的底部固定安装有轴承,传动杆固定在轴承的内表面。
所述转动轴23的表面套设有第二皮带轮44,所述第二皮带轮44通过皮带与第一皮带轮43传动连接,所述连接管34的表面套设有第二锥齿轮,所述第二锥齿轮与第一锥齿轮啮合。
所述卡接组件7包括连接板711和螺纹轴74,所述连接板711固定于所述滤网8的顶部,所述连接板711的顶部固定连接有密封板72,所述密封板72的底部粘接有密封块73,所述密封板72的两侧均开设有固定孔。
密封块73为橡胶材质,密封板72 的两侧均对称开设有两个固定孔。
所述进气管5的顶部开设有密封槽9,所述密封槽9内表面的底部开设有通槽10,所述螺纹轴74固定于所述密封槽9内表面的底部,所述螺纹轴74的表面螺纹连接有星型螺母75。
密封槽9与密封板72大小相同,螺纹轴74的数量和位置与固定孔对应。
工作原理:将进气管5与烟气输出的管道连接,排气管6通过阀门与输出管道连接并与后续处理设备连接;
通过电机22带动转动轴23转动,转动轴23带动风扇24转动,从而将气流引入到箱体1的内部,同时转动轴23通过第二皮带轮44带动第一皮带轮43转动,从而带动传动杆42转动,传动杆42通过一端的第一锥齿轮带动第二锥齿轮转动,从而带动连接管34转动;
连接管34带动喷流器32转动,且还原剂通过进气管36经连接管34进入到喷流器32内部然后通过喷头33喷出,通过带动喷流器旋转可以使气流快速的充满箱体1,并且旋转可以更加快速的带动气流之间混合,提高烟气脱硝的效率与质量,脱硝完成的气体通过排气管6排出;
当烟气通过进气管5进入使,通过滤网8对其进行过滤,将烟气中的固体颗粒进行过滤;
且滤网便于拆卸进行清理,拆卸时,通过手动将星型螺母75依次拧下,然后将密封板72向外侧拉动,通过连接板71将滤网8拉出,然后即可进行清理;
安装时通过将滤网对应通过通槽10插入至不能在插入,此时底部位于限位槽内部,密封板72位于密封槽9的内部,且密封板72上的固定孔对应螺纹轴74穿过,通过星型螺母75固定即可。
在本实用新型中,除非另有明确的规定和限定,第一特征在第二特征之 “上”或之“下”可以包括第一和第二特征直接接触,也可以包括第一和第二特征不是直接接触而是通过它们之间的另外的特征接触。而且,第一特征在第二特征“之上”、“上方”和“上面”包括第一特征在第二特征正上方和斜上方,或仅仅表示第一特征水平高度高于第二特征。第一特征在第二特征“之下”、“下方”和“下面”包括第一特征在第二特征正下方和斜下方,或仅仅表示第一特征水平高度小于第二特征。
以上显示和描述了本实用新型的基本原理、主要特征和本实用新型的优点。本行业的技术人员应该了解,本实用新型不受上述实施例的限制,上述实施例和说明书中描述的仅为本实用新型的优选例,并不用来限制本实用新型,在不脱离本实用新型精神和范围的前提下,本实用新型还会有各种变化和改进,这些变化和改进都落入要求保护的本实用新型范围内。本实用新型要求保护范围由所附的权利要求书及其等效物界定。
技术领域
本实用新型涉及烟气脱硝领域,尤其涉及一种烟气脱硝的装置。
背景技术
烟气脱硝技术主要有干法(选择性催化还原烟气脱硝、选择性非催化还原法脱硝)和湿法两种。与湿法烟气脱硝技术相比,干法烟气脱硝技术的主要优点是:基本投资低,设备及工艺过程简单,脱除NOX的效率也较高,无废水和废弃物处理,不易造成二次污染。
现有烟气脱硝包括向烟气中通入氨气等还原性气体对烟气中的硝还原为N2,但目前反应气体与烟气接触混合速度慢,充分度低,使烟气中脱硝效率低,使脱硝的烟气中含含硝量高。
实用新型内容
本实用新型的目的在于提供一种烟气脱硝的装置,以解决上述技术问题。
本实用新型为解决上述技术问题,采用以下技术方案来实现:一种烟气脱硝的装置,包括箱体,所述箱体内部的一侧固定安装有引风组件,所述箱体的内部且位于所述引风组件的一侧设置有旋转喷流组件,所述引风组件通过旋转喷流组件传动连接,所述旋转喷流组件包括支撑臂,所述支撑臂转动连接于所述箱体内壁的底部,所述支撑臂的顶部固定连接有喷流器,所述喷流器的周侧面连通有喷头,所述喷流器的顶部连通有连接管,所述连接管的顶端通过旋转连接头连接有输气管,所述箱体的两侧分别连通有进气管和排气管,所述进气管内部通过卡接组件固定安装有滤网。
进一步地,所述引风组件包括固定环,所述固定环固定于所述箱体的内表面,所述固定环内表面通过固定杆固定连接电机,所述电机输出轴的一端通过联轴器固定连接转动轴,所述转动轴的一端固定连接有风扇。
进一步地,所述传动组件包括支撑件,所述支撑件固定于所述箱体内壁的顶部,所述支撑件的上转动连接有传动杆,所述传动杆的两端分别套设有第一皮带轮和第一锥齿轮。
进一步地,所述转动轴的表面套设有第二皮带轮,所述第二皮带轮通过皮带与第一皮带轮传动连接,所述连接管的表面套设有第二锥齿轮,所述第二锥齿轮与第一锥齿轮啮合。
电机带动转动轴转动时,可以通过过第二皮带轮带动第一皮带轮转动,从而带动传动杆转动,传动杆通过一端的第一锥齿轮带动第二锥齿轮转动,从而带动进气管转动,进气管带动喷流器转动,通过带动喷流器旋转可以使反应气流快速的充满箱体,并且旋转可以更加快速的带动气流之间混合,提高烟气脱硝的效率与质量。
进一步地,所述卡接组件包括连接板和螺纹轴,所述连接板固定于所述滤网的顶部,所述连接板的顶部固定连接有密封板,所述密封板的底部粘接有密封块,所述密封板的两侧均开设有固定孔。
通过设置密封块保证密封板与进气管之间的密封性。
进一步地,所述进气管的顶部开设有密封槽,所述密封槽内表面的底部开设有通槽,所述螺纹轴固定于所述密封槽内表面的底部,所述螺纹轴的表面螺纹连接有星型螺母。
通过设置星型螺母便于将转动拆卸。
本实用新型的有益效果是:
本实用新型通过设置引风组件将烟气引入到箱体内部,且通过传动组件将引风组件与旋转喷流组件传动连接,当引风组件工作时,同时带动旋转喷流组件转动,旋转喷流组件喷出还原剂的同时旋转,使气流可以更加快速的充满箱体,提高与烟气混合速度与均匀度,提高烟气脱硝的效率与质量,且通过一个电机驱动更加的节能环保,同时设置滤网可以对烟气中的固体颗粒进行滤除,并且滤网便于拆卸安装,方便对其清理和更换。
附图说明
图1为本实用新型内部的结构示意图;
图2为本实用新型外部的结构示意图;
图3为本实用新型图1中A部的放大图;
图4为本实用新型进气管的俯视图。
附图标记:1-箱体、2-引风组件、21-固定环、22-电机、23-转动轴、24-风扇、3-旋转喷流组件、31-支撑臂、32-喷流器、33-喷头、34-连接管、35-旋转连接头、36-输气管、4-传动组件、41-支撑件、42-传动杆、43-第一皮带轮、44-第二皮带轮、45-皮带、5-进气管、6-排气管、7-卡接组件、71-连接板、72-密封板、73-密封块、74-螺纹轴、75-星型螺母、8-滤网、9-密封槽、10-通槽。
具体实施方式
为了使本实用新型实现的技术手段、创作特征、达成目的与功效易于明白了解,下面结合具体实施例和附图,进一步阐述本实用新型,但下述实施例仅仅为本实用新型的优选实施例,并非全部。基于实施方式中的实施例,本领域技术人员在没有做出创造性劳动的前提下所获得其它实施例,都属于本发明的保护范围。
下面结合附图描述本实用新型的具体实施例。
如图1-4所示,一种烟气脱硝的装置,包括箱体1,所述箱体1内部的一侧固定安装有引风组件2,所述箱体1的内部且位于所述引风组件2的一侧设置有旋转喷流组件3,所述引风组件2通过旋转喷流组件3传动连接,所述旋转喷流组件3包括支撑臂31,所述支撑臂31转动连接于所述箱体1内壁的底部,所述支撑臂31的顶部固定连接有喷流器32,所述喷流器32的周侧面连通有喷头33,所述喷流器32的顶部连通有连接管34,所述连接管34的顶端通过旋转连接头36连接有输气管35,所述箱体1的两侧分别连通有进气管5和排气管6,所述进气管5内部通过卡接组件7固定安装有滤网8。
滤网包括外侧的框架以及内部的滤芯,连接管34贯穿箱体1且延伸至箱体的外部,所述连接管34与箱体1贯穿处进行密封处理。
所述引风组件2包括固定环21,所述固定环21固定于所述箱体1的内表面,所述固定环21内表面通过固定杆固定连接电机22,所述电机22输出轴的一端通过联轴器固定连接转动轴23,所述转动轴23的一端固定连接有风扇24。
电机通过电源线与外部电源连接供电。
所述传动组件4包括支撑件41,所述支撑件41固定于所述箱体1内壁的顶部,所述支撑件41的上转动连接有传动杆42,所述传动杆42的两端分别套设有第一皮带轮43和第一锥齿轮。
支撑件41包括固定架,固定架的底部固定安装有轴承,传动杆固定在轴承的内表面。
所述转动轴23的表面套设有第二皮带轮44,所述第二皮带轮44通过皮带与第一皮带轮43传动连接,所述连接管34的表面套设有第二锥齿轮,所述第二锥齿轮与第一锥齿轮啮合。
所述卡接组件7包括连接板711和螺纹轴74,所述连接板711固定于所述滤网8的顶部,所述连接板711的顶部固定连接有密封板72,所述密封板72的底部粘接有密封块73,所述密封板72的两侧均开设有固定孔。
密封块73为橡胶材质,密封板72 的两侧均对称开设有两个固定孔。
所述进气管5的顶部开设有密封槽9,所述密封槽9内表面的底部开设有通槽10,所述螺纹轴74固定于所述密封槽9内表面的底部,所述螺纹轴74的表面螺纹连接有星型螺母75。
密封槽9与密封板72大小相同,螺纹轴74的数量和位置与固定孔对应。
工作原理:将进气管5与烟气输出的管道连接,排气管6通过阀门与输出管道连接并与后续处理设备连接;
通过电机22带动转动轴23转动,转动轴23带动风扇24转动,从而将气流引入到箱体1的内部,同时转动轴23通过第二皮带轮44带动第一皮带轮43转动,从而带动传动杆42转动,传动杆42通过一端的第一锥齿轮带动第二锥齿轮转动,从而带动连接管34转动;
连接管34带动喷流器32转动,且还原剂通过进气管36经连接管34进入到喷流器32内部然后通过喷头33喷出,通过带动喷流器旋转可以使气流快速的充满箱体1,并且旋转可以更加快速的带动气流之间混合,提高烟气脱硝的效率与质量,脱硝完成的气体通过排气管6排出;
当烟气通过进气管5进入使,通过滤网8对其进行过滤,将烟气中的固体颗粒进行过滤;
且滤网便于拆卸进行清理,拆卸时,通过手动将星型螺母75依次拧下,然后将密封板72向外侧拉动,通过连接板71将滤网8拉出,然后即可进行清理;
安装时通过将滤网对应通过通槽10插入至不能在插入,此时底部位于限位槽内部,密封板72位于密封槽9的内部,且密封板72上的固定孔对应螺纹轴74穿过,通过星型螺母75固定即可。
在本实用新型中,除非另有明确的规定和限定,第一特征在第二特征之 “上”或之“下”可以包括第一和第二特征直接接触,也可以包括第一和第二特征不是直接接触而是通过它们之间的另外的特征接触。而且,第一特征在第二特征“之上”、“上方”和“上面”包括第一特征在第二特征正上方和斜上方,或仅仅表示第一特征水平高度高于第二特征。第一特征在第二特征“之下”、“下方”和“下面”包括第一特征在第二特征正下方和斜下方,或仅仅表示第一特征水平高度小于第二特征。
以上显示和描述了本实用新型的基本原理、主要特征和本实用新型的优点。本行业的技术人员应该了解,本实用新型不受上述实施例的限制,上述实施例和说明书中描述的仅为本实用新型的优选例,并不用来限制本实用新型,在不脱离本实用新型精神和范围的前提下,本实用新型还会有各种变化和改进,这些变化和改进都落入要求保护的本实用新型范围内。本实用新型要求保护范围由所附的权利要求书及其等效物界定。

图 1

图 2

图 3

图 4



