实用专利


实用专利

一种用于选择性催化还原脱硝系统的静态混合器

日期:2020-09-14 15:03浏览次数:

说    明    书    摘    要
本实用新型提供一种用于选择性催化还原脱硝系统的静态混合器,包括静态混合器主体,所述静态混合器主体的一侧固定安装有过滤箱,所述过滤箱的内部设置有过滤组件,所述过滤箱上且位于过滤组件的一侧设置有震动组件,涉及静态混合器脱硝领域。本实用新型通过在静态混合器主体的进气端设置过滤箱,通过过滤组件可以对烟气中的固体颗粒进行滤除,防止进入到今天混合器主体内部,不易清理,且通过设置震动组件,通过气流进入使的动力推动叶轮带动推动轴往复推动滤芯,使滤芯上粘附的固定颗粒容易掉落,延长滤网的使用寿命,且掉落下的固定颗粒通过收集盒进行集中收集,且便于对收集盒进行拆卸清理,使用方便。
 
 
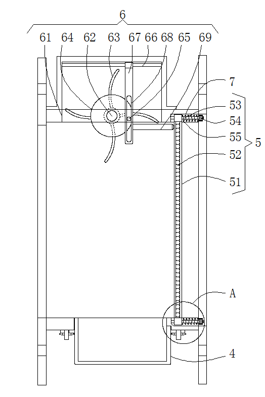
1.一种用于选择性催化还原脱硝系统的静态混合器,其特征在于:包括静态混合器主体(1),所述静态混合器主体(1)的一侧固定安装有过滤箱(2),所述过滤箱(2)的内部设置有过滤组件(5),所述过滤箱(2)上且位于过滤组件(5)的一侧设置有震动组件(6),所述震动组件(6)包括通孔(61),所述静态混合器主体(1)的顶部且位于通孔(61)的外部固定连接有密封盒(3),所述通孔(61)内壁的一侧转动连接有转动轴(62),所述转动轴(62)的表面套设有叶轮(63),所述转动轴(62)的表面且位于所述叶轮(63)的前侧套设有转动盘(64),所述转动盘(64)正面的一侧固定连接有带动轴(65),所述密封盒(3)内壁的两侧之间固定连接定位杆(66),所述定位杆(66)的表面套设有移动板(67),所述移动板(67)上开设有滑槽(68),所述带动轴(65)的一端通过滑槽(68)贯穿移动板(67),所述移动板(67)的一侧固定连接有推动轴(69),所述过滤箱(2)的底部连通有收集盒(4)。
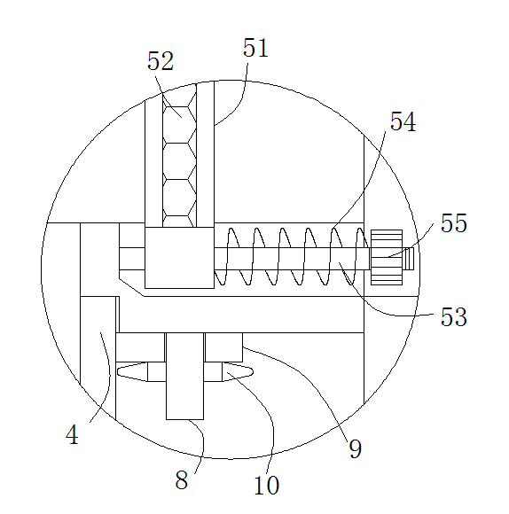
2.根据权利要求1所述的用于选择性催化还原脱硝系统的静态混合器,其特征在于:所述过滤组件(5)包括固定框(51),所述固定框(51)的内部固定连接有滤芯(52),所述固定框(51)顶部和底部均贯穿有定位杆(66),所述定位杆(66)的表面且位于固定框(51)的一侧套设有弹性件(55)。
3.根据权利要求1所述的用于选择性催化还原脱硝系统的静态混合器,其特征在于:所述定位杆(66)的一端设置有螺纹,所述定位杆(66)的一端且位于弹性件(55)的一侧螺纹连接有螺母(54)。
4.根据权利要求1所述的用于选择性催化还原脱硝系统的静态混合器,其特征在于:所述过滤箱(2)内壁顶部和底部的一侧均开设有容纳槽(7),两个定位杆(66)分别位于两个容纳槽(7)的内部,两个定位杆(66)的一端分别固定于两个容纳槽(7)内壁的一侧。
5.根据权利要求1所述的用于选择性催化还原脱硝系统的静态混合器,其特征在于:所述收集盒(4)的两侧均固定连接有固定块(9),所述固定块(9)上开设有固定孔,所述收集盒(4)表面的上侧粘接有密封垫。
6.根据权利要求1所述的用于选择性催化还原脱硝系统的静态混合器,其特征在于:所述过滤箱(2)的底部且位于收集盒(4)的两侧均固定连接有螺纹固定轴(8),所述螺纹固定轴(8)的表面螺纹连接有星型螺母(10)。
 
一种用于选择性催化还原脱硝系统的静态混合器
 
技术领域
本实用新型涉及静态混合器脱硝领域,尤其涉及一种用于选择性催化还原脱硝系统的静态混合器。
背景技术
静态混合器是一种没有运动部件的高效混合设备,其基本工作机理是利用固定在管内的混合单元体改变流体在管内的流动状态,以达到不同流体之间良好分散和充分混合的目的。该设备应用广泛,不可拆卸。
目前对于烟气中脱硝部分使用静态混合器配合催化剂进行脱硝处理,但烟气中通常携带有大量的固体颗粒,在进入到静态混合器内部后,内部结构容易粘附大量的固定颗粒,且不易清理。
实用新型内容
本实用新型的目的在于提供一种用于选择性催化还原脱硝系统的静态混合器,以解决上述技术问题。
本实用新型为解决上述技术问题,采用以下技术方案来实现:一种用于选择性催化还原脱硝系统的静态混合器,包括静态混合器主体,所述静态混合器主体的一侧固定安装有过滤箱,所述过滤箱的内部设置有过滤组件,所述过滤箱上且位于过滤组件的一侧设置有震动组件,所述震动组件包括通孔,所述静态混合器主体的顶部且位于通孔的外部固定连接有密封盒,所述通孔内壁的一侧转动连接有转动轴,所述转动轴的表面套设有叶轮,所述转动轴的表面且位于所述叶轮的前侧套设有转动盘,所述转动盘正面的一侧固定连接有带动轴,所述密封盒内壁的两侧之间固定连接定位杆,所述定位杆的表面套设有移动板,所述移动板上开设有滑槽,所述带动轴的一端通过滑槽贯穿移动板,所述移动板的一侧固定连接有推动轴,所述过滤箱的底部连通有收集盒。
进一步地,所述过滤组件包括固定框,所述固定框的内部固定连接有滤芯,所述固定框顶部和底部均贯穿有定位杆,所述定位杆的表面且位于固定框的一侧套设有弹性件。
通过设置弹性件,当推动轴敲击滤芯时,固定框压缩弹性件进行缓冲,可以防止过滤组件被损坏。
进一步地,所述定位杆的一端设置有螺纹,所述定位杆的一端且位于弹性件的一侧螺纹连接有螺母。
进一步地,所述过滤箱内壁顶部和底部的一侧均开设有容纳槽,两个定位杆分别位于两个容纳槽的内部,两个定位杆的一端分别固定于两个容纳槽内壁的一侧。
通过设置容纳槽,使固定框的顶部和底部位于容纳槽内部,使滤芯可以更大面积的进行过滤。
进一步地,所述收集盒的两侧均固定连接有固定块,所述固定块上开设有固定孔,所述收集盒表面的上侧粘接有密封垫。
通过粘接密封垫,保证收集盒与过滤箱之间的密封性。
进一步地,所述过滤箱的底部且位于收集盒的两侧均固定连接有螺纹固定轴,所述螺纹固定轴的表面螺纹连接有星型螺母。
    本实用新型的有益效果是:
本实用新型通过在静态混合器主体的进气端设置过滤箱,通过过滤组件可以对烟气中的固体颗粒进行滤除,防止进入到今天混合器主体内部,不易清理,且通过设置震动组件,通过气流进入使的动力推动叶轮带动推动轴往复推动滤芯,使滤芯上粘附的固定颗粒容易掉落,延长滤网的使用寿命,且掉落下的固定颗粒通过收集盒进行集中收集,且便于对收集盒进行拆卸清理,使用方便。 
附图说明
图1为本实用新型整体的结构示意图;
图2为本实用新型过滤箱的剖视图;
图3为本实用新型的图2中A部的放大图。
附图标记:1-静态混合器主体、2-过滤箱、3-密封盒、4-收集盒、5-过滤组件、51-固定框、52-滤芯、53-滑杆、54-螺帽、55-弹性件、6-震动组件、61-通孔、62-转动轴、63-叶轮、64-转动盘、65-带动轴、66-定位杆、67-移动板、68-滑槽、69-推动轴、7-容纳槽、8-螺纹固定轴、9-固定块、10-星型螺母。
具体实施方式
为了使本实用新型实现的技术手段、创作特征、达成目的与功效易于明白了解,下面结合具体实施例和附图,进一步阐述本实用新型,但下述实施例仅仅为本实用新型的优选实施例,并非全部。基于实施方式中的实施例,本领域技术人员在没有做出创造性劳动的前提下所获得其它实施例,都属于本发明的保护范围。
下面结合附图描述本实用新型的具体实施例。
如图1-3所示,一种用于选择性催化还原脱硝系统的静态混合器,包括静态混合器主体1,所述静态混合器主体1的一侧固定安装有过滤箱2,所述过滤箱2的内部设置有过滤组件5,所述过滤箱2上且位于过滤组件5的一侧设置有震动组件6,所述震动组件6包括通孔61,所述静态混合器主体1的顶部且位于通孔61的外部固定连接有密封盒3,所述通孔61内壁的一侧转动连接有转动轴62,所述转动轴62的表面套设有叶轮63,所述转动轴62的表面且位于所述叶轮63的前侧套设有转动盘64,所述转动盘64正面的一侧固定连接有带动轴65,所述密封盒3内壁的两侧之间固定连接定位杆66,所述定位杆66的表面套设有移动板67,所述移动板67上开设有滑槽68,所述带动轴65的一端通过滑槽68贯穿移动板67,所述移动板67的一侧固定连接有推动轴69,所述过滤箱2的底部连通有收集盒4。
移动板67位于转动轴62的前侧,转动轴62的一端贯穿密封盒3的内壁延伸至密封盒3的外部,转动轴62的表面且位于过滤箱2内壁的两侧均固定连接有限位环,且转动轴62与密封盒3贯穿处进行机械密封。
所述过滤组件5包括固定框51,所述固定框51的内部固定连接有滤芯52,所述固定框51顶部和底部均贯穿有定位杆66,所述定位杆66的表面且位于固定框51的一侧套设有弹性件55。
固定框51的顶部和底部均开设有与定位杆相适配的安装孔。
所述定位杆66的一端设置有螺纹,所述定位杆66的一端且位于弹性件55的一侧螺纹连接有螺母54。
螺母54表面设置若干拨齿。
所述过滤箱2内壁顶部和底部的一侧均开设有容纳槽7,两个定位杆66分别位于两个容纳槽7的内部,两个定位杆66的一端分别固定于两个容纳槽7内壁的一侧。
所述收集盒4的两侧均固定连接有固定块9,所述固定块9上开设有固定孔,所述收集盒4表面的上侧粘接有密封垫。
所述过滤箱2的底部且位于收集盒4的两侧均固定连接有螺纹固定轴8,所述螺纹固定轴8的表面螺纹连接有星型螺母10。
固定孔孔径与螺纹固定轴8的直径大小相同。
工作原理:通过在静态混合器主体1的进气端通过法兰固定连接过滤箱2,当烟气进行脱硝处理时烟气首先进入到过滤箱2内部,经过过滤组件5中滤芯52对烟气中的固定颗粒进行过滤然后进入到静态混合器主体1内部。
同时当烟气进入过滤箱2内部时气流推动叶轮63的下侧,从而使叶轮63转动,叶轮63转动从而带动转动轴62转动,带动轴65带动转动盘64转动,转动盘64带动边侧的带动轴65沿转动盘的中心为圆心转动,且带动轴65沿移动板67上滑槽68滑动,从而带动移动板67左右往复移动,移动板67带动推动轴69左右往复移动,推动轴69不断的对滤芯进行敲击,从而可以使滤芯52上粘附的固体颗粒容易掉落到收集盒4内部,延长滤芯52的使用寿命;
且当推动轴69敲击滤芯52时,固定框51压缩弹性件55进行缓冲,可以防止过滤组件5被损坏;
掉落的固定颗粒掉落到收集盒4内部进行收集;
当需要对收集盒4进行清理时,通过将星型螺母10从螺纹固定轴8上拧下,即可将收集盒4取下进行清理,安装时,对应将收集盒4上侧插入到过滤箱2底部的装配孔内部,且收集盒4两侧的固定块9上的固定孔对应插入到螺纹固定轴8上,然后通过星型螺母10固定螺紧;
当需要对滤芯进行清理或者更换时,可以将过滤箱2从静态混合器主体1上拆下,然后将螺帽54从滑杆53上拧下,然后可以将固定框51连同滤芯52取下,安装时,将固定框51上下侧的安装孔对应滑杆53插入然后套入弹性件55,再拧紧螺帽54。
在本实用新型中,除非另有明确的规定和限定,第一特征在第二特征之 “上”或之“下”可以包括第一和第二特征直接接触,也可以包括第一和第二特征不是直接接触而是通过它们之间的另外的特征接触。而且,第一特征在第二特征“之上”、“上方”和“上面”包括第一特征在第二特征正上方和斜上方,或仅仅表示第一特征水平高度高于第二特征。第一特征在第二特征“之下”、“下方”和“下面”包括第一特征在第二特征正下方和斜下方,或仅仅表示第一特征水平高度小于第二特征。
以上显示和描述了本实用新型的基本原理、主要特征和本实用新型的优点。本行业的技术人员应该了解,本实用新型不受上述实施例的限制,上述实施例和说明书中描述的仅为本实用新型的优选例,并不用来限制本实用新型,在不脱离本实用新型精神和范围的前提下,本实用新型还会有各种变化和改进,这些变化和改进都落入要求保护的本实用新型范围内。本实用新型要求保护范围由所附的权利要求书及其等效物界定。
 
图 1
图 2
 
图 3