实用专利
News


实用专利News

发布时间:2020-09-14 一种脱硫剂加料装置

说 明 书 摘 要 本实用新型提供一种脱硫剂加料装置,涉及脱硫剂加料领域,一种脱硫剂加料装置,包括底座,所述底座的表面固定安装有箱体,所述箱体...

+ 查看详情>>>
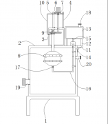
发布时间:2020-09-14 一种脱硫使用的石灰浆反应装置

说 明 书 摘 要 本实用新型提供一种脱硫使用的石灰浆反应装置,涉及脱硫技术领域,包括底板,所述底板顶部的两侧均固定连接有伸缩杆,所述伸缩杆的...

+ 查看详情>>>
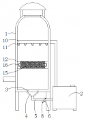
发布时间:2020-09-14 一种脱销剂干燥废气处理装置

说 明 书 摘 要 本实用新型提供一种脱销剂干燥废气处理装置,涉及环保领域,包括除尘箱和水箱,所述除尘箱内表面的底部开设有第一连接槽,所述除尘...

+ 查看详情>>>
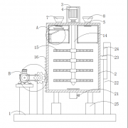
发布时间:2020-09-14 一种烟气脱硝的装置

说 明 书 摘 要 本实用新型提供一种烟气脱硝的装置,包括箱体,所述箱体内部的一侧固定安装有引风组件,所述箱体的内部且位于所述引风组件的一侧设...

+ 查看详情>>>
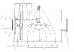
发布时间:2020-09-14 一种用于选择性催化还原脱硝系统的静态混合器

说 明 书 摘 要 本实用新型提供一种用于选择性催化还原脱硝系统的静态混合器,包括静态混合器主体,所述静态混合器主体的一侧固定安装有过滤箱,所...

+ 查看详情>>>